弟兄关心的问题:什么是分水机和分杂机?滑油分油机为何不设排水泵?水分是如何排除的?
船舶讲武堂技能快速提升学习资料购买,点击下方链接获取详情!
船舶讲武堂资料焕新优惠开售,合订版返现88元,其它返48元...技能提升好帮手!
一、什么是分水机和分杂机?
分油机按用途分为分水机(Purifier)与分杂机(Clarifier),二者结构相近,仅需更换少量元件即可相互转换:

对比项 | 分水机(净化器) | 分杂机(澄清器) |
核心功能 | 优先分离水分,兼具分杂作用 | 优先分离固体杂质,无独立分水功能 |
盘架结构 | 带一圈分配孔 | 无分配孔 |
出口配置 | 设出油口、出水口,配重力环 | 仅设出油口,无重力环、无出水口 |
水封需求 | 需注入水封水建立水封,防止跑油 | 无需水封水,装橡胶密封挡环防漏油 |
二、分水机和分杂机的工作流程
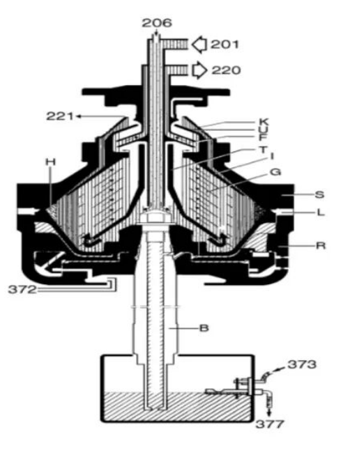
离心式分油机本质是离心力场加速沉淀设备,分离效率远高于重力沉淀(离心力为重力的数千倍),分离筒转速通常达6000~8000r/min,转速越高,油、水、杂质分离越彻底。
其核心原理:利用油、水、杂质的密度差(杂质密度>水密度>油密度),在高速旋转的离心力场中实现分层——密度最大的固体杂质被甩至分离筒最外壁;水层位于中间;密度最小的净油汇聚于转轴附近,最终通过不同出口排出。
(一)分水机工作流程
1.引水建封:分离前从注油口注入热水压力柜的水封水,在分离筒内壁形成水封层,封住上盘下边缘防止跑油,直至水从比重环喷出后停止注水。
2.进油分离:油料经分离盘上升通道进入盘间流道,在离心力下分层,净油向中心汇聚,经出油口排出;水分向外移动,置换水封水后经出水口排出;杂质穿过水封层,积聚在分离筒内壁。
3.界面控制:油水分界面(Y-Y)需控制在分离盘外边缘附近,需根据油水密度差精准选择重力环,避免界面内移导致分离不彻底,或外移引发跑油、水中带油。
注:现代的新型分油机大都取消了比重环设计,采用一些特殊设计和程序自动控制油水界面,极大的提高了可分离油种的密度。
(二)分杂机工作流程
1.结构适配:盘架底部装无孔分离盘,油液仅能绕过分离盘底外边缘进入上层分离盘,利用大半径提升离心力,分离效果可提高2%~3%。
2.密封防漏:无需水封水,颈盖上部环形槽装橡胶密封挡环,防止油料从出水口(已封堵)排出。
3.分离排渣:仅分离固体杂质,分离出的杂质与少量水分积聚在分离筒外壁,通过定期排渣清除。
(三)影响分离效果的关键因素
分离盘间距越小、转速越高、油液流经分离盘时间越长,分离质量越好。
油料杂质较多时,需减小进油流量;适当加热油料,降低粘度与密度,可提升分离效率。
分离质量判断:卸下分离盘,若黑色粘液(重质油+固体杂质)接近净油出口,需减小流量;若仅少量粘液附着在大半径处,可适当加大流量。
三、滑油分油机为何不设排水泵?
与燃油分水机不同,船舶滑油分油机无需独立排水泵,分离出的水分依靠离心力与分油机自身结构、控制逻辑实现自动排出,核心原因与排水路径如下:

(一)为何无需独立排水泵?
1.离心力自压驱动:滑油分油机分离筒转速达6000~8000r/min,分离出的水分在离心力作用下获得极高的径向压力,该压力足以克服管路阻力,将水分直接压出分离筒,无需额外动力(排水泵)辅助。
2.结构集成排水:现代滑油分油机(如阿法拉伐FOPX/MFPX系列)多采用分杂机模式为主、兼具分水功能的设计,分离出的水分不设独立出水口,而是与固体杂质一同积聚在分离筒外周的沉渣区,通过排渣程序同步排出,无需单独的排水泵与管路。
3.滑油特性适配:船舶系统滑油含水量远低于燃油(通常<1%),分离出的水分总量少、积聚慢,无需连续排水,仅需定期排渣即可清除,简化了系统结构。
(二)滑油分油机水分是如何排出去的?
1.离心分层与积聚:待净化滑油进入分离筒后,在离心力场中分层——净油向中心汇聚,经向心泵从净油出口返回滑油系统;水分因密度大于油,被甩至分离筒外周,与固体杂质一同积聚在沉渣区。
2.自动监测与排水/排渣:

通过比重环控制油水分界面,当水分积聚到一定量,会置换少量水封水,经分离筒盖与比重环的环形间隙,在离心力作用下直接排出(无独立排水泵)。水分排出的另外一个途径就是通过高温蒸发排除(这也是为何当滑油中的水分含量较高时可通过调高温度的方式排除的重要原因)。另外在净油出口装水分传感器,当检测到净油含水量超标时,程序控制触发排渣程序——先注入置换水挤走净油(减少滑油损失),再供给开启水打开排渣口,沉渣区的水分、杂质在离心力下一同从排渣口排出至污油柜/渣柜。
3.排渣循环清除:滑油分油机按设定时间(或杂质/水分监测值)定期自动排渣,每次排渣均会将沉渣区积聚的水分与杂质彻底清除,实现水分的持续、自动排出。
综上,滑油分油机依托离心力的自压特性、集成化的排渣/排水结构,以及程控化的监测与控制逻辑,无需独立排水泵即可高效完成水分分离与排出,既简化了船舶管路系统,又提升了设备运行可靠性。

以下为历史经典文章合集链接,需要自取
1.主机启动困难,负荷严重偏离正常值,轮机长“糟心”战斗数天-真心不容易!
2.液压舱盖“跳劲舞”,甲板机头很害怕-三管轮关键时刻放大招,甲机大写的一个“服”.
3.传动皮带断到心理有阴影-分油机这病老中医都难搞!
4.这个YANMAR副机运转中突然滑油低压停车跳电故障-有点难于预料!
5.从太平洋到印度洋的45天,ME-C电喷主机强悍故障来袭!
6.主机滑油消耗暴增-祸首分油机,跑油跑出新高度,有点代表性!
7.分油机压力低报警,三轨说阀门会自己动,机舱闹鬼?一起来捉妖!
8.疑难分析-WARTSIL-RT-FLEX-50D电喷主机某缸喷油时间过长报警!
9.非比寻常的主机单缸排烟温度高、烟囱冒黑烟故障。
10.二例诡异的副机滑油异常消耗事件-元芳!你怎么看?
11.主机这个间歇性排烟温度高的故障-很不简单!
12.1年ME-C电喷主机新船,连续排温低,扫气道着火-事件真相匪夷所思!
13.夜半歌声很“瘆人”,汽笛该进疯人院-到底是什么鬼?
14.船舶空压机滑油容易乳化这个老大难问题,怎么破?
15.破解分油机那些让人迷糊的设计10问-分油机强悍文档来袭
16.空气分配站安全阀总是跳,源起减压阀-都说减压阀有点难,读完这篇都是专家!
17.都说MAN ME-C电喷主机油头难拔-今天我来放个大招!
18.主机滑油压力低,是谁动了机油泵的回油阀?又是闹鬼?-结局刷新你的认知!
19.主机“气功”没练好!老跑气-高级轮机长(陈老轨),教你怎么练!
20二管轮:副机暖缸水温度上不来,系统设计有问题?原来又一次长见识!
21.怪不怪?MAN B&W ME-C电喷主机单单平均指示压力低(Pi),一起来看看。。。。
22.多年数个缸套的代价,这个主机缸套异常磨损有点顽。。。。
23.这个MAN主机排气敲击故障太“坑爹”,99%的人会被忽悠。。。。。。
24.“要命”的某轮克林吊无法启动故障。。。。。
25.这个“懵逼”的主机主轴承滑油低压故障,看完直想哭。。。。。
26.YANMAR副机航行中没有任何先兆停车跳电,这一次可不是滑油低压。。。。。
27.低硫油给分油机带来的麻烦,怎么解?
28.主机滑油非正常消耗的祸首原来是“它”。。。。。
29.锅炉冒黑烟后又点不着火了,三管轮求援。。。。。
30.应急发电机启动失败故障,走了“山路十八弯”
31.电喷主机伺服油超压,二台伺服油泵流量传感器指示灯不同步了。。。。
32.新主机一周后就开始莫名不断排温高,揉碎了轮机长、服务工程师、机务的心
33.三管轮求援:都没问题,空调温度就是打不下来
34.脑袋想破都难想到的主机抛锚停车再启动“爆燃”故障
35.三管轮问:锅炉得了“哮喘”病,谁有“神药”?
36.克令吊回转马达输出齿轮总是断齿,看船员专家级分析解决方案,读完受益匪浅!
37.看完这个主副机几近全损的惨烈事件,就知道甲板哥们是怎么“坑”机舱弟兄的
38.Westfalia分油机中文解读,下老大功夫了,读完秒懂(含完整视频)
39.在新下水的ME-C主机船上干了11个月,轮机长有不少心得体会与大家分享!
40.用心制作,时下最流行、最易懂的副机WOOD WARD PSG调速器文档来了
41.分油机这个“连环套”,很多人都会“翻车”
42.主机没命,副机剩下半条命,看完真的想把这样的队友拉出去“毙”了
43.MEC电喷主机这个柱塞行程的故障有点乱,没把轮机长少折腾
44.ME-C电喷主机排温高,张老轨听声诊病,把常规诊断方法运用到了极致
45.柴油机游车无解---一起跳电事件引出的“花样”游车线索
46.出厂一年多的副机总漏油且滑油消耗异常,原因有点“烧脑”!
47.副机冷却水进气低压跳电数月无解...背后实情专家难料
48.破解分油机那些让人迷糊的设计10问-分油机强悍文档来袭
49.这个副机机油压力低的毛病,很不简单!
50.大管说头都想破了,拆了6遍,这个分油机跑油的毛病还是一脸懵.......
51.分油机不排渣,还时不时跑油,分油流量再不足这是要完犊子???
52.专家级讲解救助艇的启停,句句GET POINT,看完无压力。
53.关于回油孔式高压油泵,这篇文章有些知识点可能很多人没掌握.......
54.看完这篇ABB(TPS型)透平的文章,再不懂就是自己的问题了.......
55.YANMAR副机安保测试后无法启动了,绕了不少弯,结局着实上了一课...........
56.应急消防泵建压困难,问题多多,看李老轨如何逐一破解.......
57.由某轮舵机遥控和应急舵均失效故障谈舵机的那些硬核知识点
58.从不同角度成功处理副机排烟温度高问题,极具参考价值........
59.主机滑油不明原因乳化,这锅大管轮得背......
60.副机滑油温度长期居高不下,进厂修理越修越差,原因你品...你仔细品...
61.抵港前安全检查,三管轮连续几次启动救生艇不成功,检查一圈有点“迷糊”了.......
62.运转中的MEC主机突发“雷击”般声响...吓得老轨四处张望...多次实验终于查到病源....
63.半年内冰机连续抱轴、连杆断裂,活塞击穿...平时制冷效果也欠佳...想不到的是.....
64.凌晨3点引水登轮准备离港,舱盖关不下急煞众人...小四轨突生妙计破解困局
65.奇了怪!共用一台空调压缩机,左舷房间热,右舷房间凉.......
66.5个故障案例,5000多字,带你“撸透”旋杯式锅炉
67.2个案例6000字...由透平定位环红套滑脱...深度探索副机透平的那些知识点
68.三个造水机“奇葩”案例,带你进入探索之旅
69.滑油分油机跑油,此案教你如何快速排除
70.这里有一份全面介绍ME-C电喷主机的资料...图文并茂...言简意赅!
71.遭遇史上最强三菱分油机故障,二管快“崩盘”...终极版三菱分油机来了
72.锅炉冒白烟,这原因有点玄乎.........
73.三起主机单缸不发火故障,均与Puncture Valve有关...里面还有颇有些学问
74.锅炉火焰忽闪忽灭,整懵圈电机员和二管...原来毛病就在灯火阑珊处......
75.搞懂空调油压差继电器,关键时刻能救空调压缩机的命.....
76.副机使用大负荷时频繁跳电...并车运行也跳电...调速器背黑锅!

