三代迭代,密封升级!MAN主机排气阀密封技术的进化之路...原理你搞懂了吗?
船舶讲武堂技能快速提升学习资料购买,点击下方链接获取详情!
船舶讲武堂资料焕新优惠开售,合订版返现88元,其它返48元...技能提升好帮手!
排气阀作为船用柴油机燃烧室换气的核心部件,其密封性能直接决定主机的运行稳定性、燃油效率与使用寿命。MAN作为船用柴油机领域的核心品牌,针对排气阀密封单元的设计历经多轮技术迭代,从早期的空气密封方案,到2002年升级的油密封控制单元,再到最新的可控油位(Controlled Oil Level,COL)设计,每一次演变均围绕密封可靠性提升、结构简化、成本优化三大核心目标,同时适配现代柴油机高压、高效的运行需求。本文将详细梳理MAN主机排气阀密封单元的技术发展脉络,解析各阶段设计原理与技术特点。
初代方案:空气密封设计,基础密封的早期探索
MAN主机排气阀的早期密封设计采用空气密封结构,这是船用柴油机排气阀密封的经典初代方案,核心依靠压缩空气实现密封与驱动的双重功能,结构相对简单,无复杂的液压或油液控制部件。

从结构来看,该系统的压缩空气由主机操纵系统供给,分为排气阀空气弹簧供气与密封空气供给两路核心气路,配合节流孔(orifice)、密封气室(sealing air chamber)等关键部件形成密封体系。其工作逻辑围绕空气压力的平衡实现:利用操纵系统提供的压缩空气在密封气室形成稳定气压,阻断排烟管内的高温燃气向上窜动,同时空气弹簧依靠压缩空气的弹性势能,实现排气阀的关闭复位。
空气密封设计的优势在于结构简洁、无油液消耗,后期维护仅需关注气路密封性与压力稳定;但受限于空气的可压缩性与密封气室的结构设计,其密封性能存在明显短板,在主机高负荷运行时,排烟管内的燃气易突破空气密封层,造成阀杆腐蚀、磨损,同时空气压力的波动会影响排气阀的启闭精度,难以适配大缸径、高功率柴油机的严苛工况。随着船用柴油机向高增压、高爆发压力方向发展,空气密封的局限性逐渐凸显,成为制约主机性能提升的关键因素,也推动了密封技术向油密封方向升级。
二代升级:2002年油密封控制单元,压力驱动的精准密封
2002年,MAN正式推出油密封设计,并在主机上配套研发了密封油控制单元(Sealing oil control unit),替代传统空气密封成为新一代排气阀密封方案。该设计以液压油为密封介质,利用油液的不可压缩性实现更可靠的密封效果,同时通过精准的压力控制与油量调节,适配主机不同工况的运行需求,成为MAN主机排气阀密封技术的重要里程碑。
核心结构与油量控制


密封油控制单元集成了单向阀、一级节流孔(Primary orifice)、二级节流孔(Secondary restriction)、缓冲活塞、液压活塞、溢流阀等核心部件,通过管接头与排气阀油缸、液压驱动系统相连,设计为仅在主机运转时工作的随动式结构,实现油量的精准按需供给。针对不同缸径的主机,该单元的循环油系统机油消耗量控制在3.7-10.0 mm³/rpm,在主机最大持续功率(MCR)条件下,单缸密封油消耗量稳定在0.7-1.3千克/天,兼顾密封效果与油液利用率。
压力驱动的工作原理
密封油控制单元的核心工作逻辑依据液压压力的周期性变化实现密封与油液分配,整个过程与排气阀的启闭冲程精准联动,可分为五个关键阶段,且针轴载荷能产生4.0bar的稳定压力,远高于排烟管内最大2.3bar的燃气压力,确保密封可靠性:

1.排气阀提升,油压建立:排气阀提升阶段,液压驱动器的油液通过一级节流孔进入吊环块下的密封腔体,腔体出口的二级节流孔形成节流阻力,使腔体内油压适度升高,形成周期性变化的压力场,为密封做准备;

2.低压状态,滑块锁止:腔体内压力降低时,滑块被弹簧顶紧无法向左移动,针轴与腔体出口连接,油液处于稳定泄放状态,维持腔体基础压力;

3.高压状态,滑块动作:腔体内压力升高至阈值时,滑块向左移动压缩弹簧,将指示销推出,针轴被提升并与腔体进口连接,油液快速充满腔体,实现高压密封;

4.压力回落,针轴保持:滑块进入返回冲程,腔体内压力小幅下降,滑块与针轴之间留存的油液维持针轴提升状态,确保密封压力不骤降;

5.压力释放,复位密封:腔体内压力降至基础值,滑块恢复原位并锁止,针轴将载荷推至卡槽内并导向阀杆导套,载荷释放完成一次密封循环,油液重新进入下一个压力变化周期。
技术优势与局限性
相较于空气密封,油密封控制单元的优势十分显著:液压油的不可压缩性让密封性能大幅提升,有效阻断高温燃气上窜,减少阀杆腐蚀与磨损;通过两级节流孔的压力调节,实现了密封压力的精准控制,适配主机不同负荷的运行需求;同时密封油在工作过程中可对阀杆、活塞等运动部件实现润滑,延长部件使用寿命。
但该设计也存在明显不足:密封油控制单元结构复杂,集成了大量节流孔、单向阀、活塞等精密部件,后期维护难度与成本较高;油液的循环供给需要配套的管路与接头,增加了主机的整体布置复杂度;且精密部件的磨损易导致油量控制精度下降,出现油液泄漏或密封压力不足等故障。因此,密封油控制单元虽实现了密封性能的升级,但其复杂的结构设计也为MAN后续的技术优化指明了方向——简化结构,取消独立控制单元。
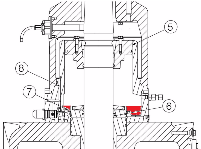
三代革新:可控油位(COL)设计,无单元的集成化密封
在密封油控制单元投入使用后不久,MAN基于油密封的核心原理,进一步优化设计推出可控油位(Controlled Oil Level,COL)排气阀密封方案,彻底取消了独立的密封油控制单元,通过在排气阀油缸本体集成节流孔板、安全阀等部件,实现密封、润滑、油位自调节的一体化功能,成为目前MAN主机排气阀的主流密封设计,兼具可靠性与经济性。
核心设计理念:结构集成与成本优化
COL设计的核心创新在于将密封油的供给、分配与油位控制功能集成到排气阀油缸本体,省去了传统密封油控制单元的独立阀体、大量管路与单向阀等部件,大幅简化了主机的结构布置,降低了制造成本与后期维护难度。其关键设计为在排气阀油缸顶部开设连接孔并配套节流孔板(或节流阀),在空气弹簧壳体底部设置安全阀,通过液压油的自然流动与压力自调节,实现密封与润滑的双重效果。
油位自调节的工作原理
COL设计以排气阀高压油进口的液压油为介质,通过连续供油、油膜形成、油位积聚、压力泄放的闭环过程,实现密封与油位的自动控制,整个过程无需外部控制单元干预,共分为八个关键步骤:

1.高压油连续供给:排气阀高压油进口的液压油,通过安装在油缸顶部的节流孔板/节流阀实现连续、定量供给,替代传统控制单元的主动油量调节;
2.油液垂直输送:液压油通过油缸本体的垂直孔道,直接输送至空气活塞的顶部,实现油液的精准分配;
3.油液分流:空气活塞顶部的液压油大部分流向空气缸外侧,形成基础的润滑与密封油膜;
4.油液回流:流向空气缸外侧的液压油,通过油缸底部的泄油孔与外接管,回流至主机油底壳,实现油液的循环利用;

5.油膜形成与刮落:空气活塞顶部的油液在活塞运行表面与空气弹簧壳体内部形成均匀油膜,保证运动部件的润滑,部分油膜被空气活塞上的密封圈刮落,汇集至空气弹簧壳体底部;
6.阀杆润滑密封:随着排气阀杆的垂直往复运动,壳体底部的部分油液被拉过主轴衬套顶部的密封圈,在阀杆与衬套之间形成油膜,既实现阀杆的润滑,又阻断燃气上窜,完成核心密封功能;
7.油位积聚与压力升高:未参与润滑的剩余油液在空气弹簧壳体底部持续积聚,油位逐渐升高,使壳体内的空气被压缩,压缩压力随油位上升同步增加;
8.安全阀泄放,油位自调:当壳体内的压缩压力超过安全阀的开启压力(不同机型设定值不同,典型值为23bar),安全阀自动打开,将油与空气的混合物从壳体吹出并通过外管排出,壳体内油位下降,压力恢复至正常范围,实现油位与压力的自动调节。
关键操作要求与技术优势
COL设计对主机的初始操作与检修有明确要求:主机首次起动前及排气阀大修后,必须在空气弹簧壳体内注油至规定油位,且安装排气阀前需严格检查油位是否达标,确保密封系统的初始工作状态正常。
相较于前两代设计,COL方案的技术优势更为突出:一是彻底取消独立控制单元,结构极简,后期维护仅需关注节流孔板的通畅性、安全阀的开启压力与油位是否正常,维护成本大幅降低;二是实现密封与润滑的一体化,液压油在密封过程中同步完成阀杆、活塞等运动部件的润滑,延长部件使用寿命;三是油位与压力通过安全阀实现自调节,无需外部控制,适配主机从怠速到满负荷的所有工况,运行稳定性更高;四是无额外的密封油耗量,液压油直接取自排气阀驱动系统,实现油液的循环利用,经济性更佳。
技术演变的核心逻辑与行业趋势
MAN主机排气阀密封单元从空气密封到油密封控制单元,再到COL可控油位设计的三次技术迭代,并非简单的结构替换,而是围绕船用柴油机行业发展需求形成的技术升级逻辑:从最初满足基础密封需求,到适配高功率主机的精准密封需求,再到兼顾可靠性、经济性与维护便捷性的集成化需求,每一次演变均紧扣**“性能提升、结构简化、成本优化”**三大核心目标。
从行业发展趋势来看,随着船用柴油机向智能化、高效化、低维护方向发展,排气阀密封技术也将继续向集成化、自调节、免维护方向升级。MAN的COL设计作为目前的主流方案,其核心的“压力自调节、功能集成化”理念,也为后续密封技术的研发奠定了基础——未来或将结合传感器技术,实现油位、压力的实时监测与智能调节,进一步提升密封系统的可靠性与适配性。
同时,排气阀密封技术的发展也与材料技术、加工工艺深度结合,如排气阀密封面的高温合金堆焊、镜面加工等工艺,可大幅提升密封面的硬度、耐高温与耐腐蚀性能,与密封单元的液压/油液设计形成互补,共同推动MAN主机排气阀整体性能的提升。
综上,MAN主机排气阀密封单元的技术演变,是船用柴油机核心部件适配行业发展的典型缩影,其每一次技术升级均基于实际运行需求,在解决前一代设计局限性的同时,实现了性能与经济性的双重提升,也为船用柴油机密封技术的发展提供了重要参考。
以下为历史经典文章合集链接,需要自取
1.主机启动困难,负荷严重偏离正常值,轮机长“糟心”战斗数天-真心不容易!
2.液压舱盖“跳劲舞”,甲板机头很害怕-三管轮关键时刻放大招,甲机大写的一个“服”.
3.传动皮带断到心理有阴影-分油机这病老中医都难搞!
4.这个YANMAR副机运转中突然滑油低压停车跳电故障-有点难于预料!
5.从太平洋到印度洋的45天,ME-C电喷主机强悍故障来袭!
6.主机滑油消耗暴增-祸首分油机,跑油跑出新高度,有点代表性!
7.分油机压力低报警,三轨说阀门会自己动,机舱闹鬼?一起来捉妖!
8.疑难分析-WARTSIL-RT-FLEX-50D电喷主机某缸喷油时间过长报警!
9.非比寻常的主机单缸排烟温度高、烟囱冒黑烟故障。
10.二例诡异的副机滑油异常消耗事件-元芳!你怎么看?
11.主机这个间歇性排烟温度高的故障-很不简单!
12.1年ME-C电喷主机新船,连续排温低,扫气道着火-事件真相匪夷所思!
13.夜半歌声很“瘆人”,汽笛该进疯人院-到底是什么鬼?
14.船舶空压机滑油容易乳化这个老大难问题,怎么破?
15.破解分油机那些让人迷糊的设计10问-分油机强悍文档来袭
16.空气分配站安全阀总是跳,源起减压阀-都说减压阀有点难,读完这篇都是专家!
17.都说MAN ME-C电喷主机油头难拔-今天我来放个大招!
18.主机滑油压力低,是谁动了机油泵的回油阀?又是闹鬼?-结局刷新你的认知!
19.主机“气功”没练好!老跑气-高级轮机长(陈老轨),教你怎么练!
20二管轮:副机暖缸水温度上不来,系统设计有问题?原来又一次长见识!
21.怪不怪?MAN B&W ME-C电喷主机单单平均指示压力低(Pi),一起来看看。。。。
22.多年数个缸套的代价,这个主机缸套异常磨损有点顽。。。。
23.这个MAN主机排气敲击故障太“坑爹”,99%的人会被忽悠。。。。。。
24.“要命”的某轮克林吊无法启动故障。。。。。
25.这个“懵逼”的主机主轴承滑油低压故障,看完直想哭。。。。。
26.YANMAR副机航行中没有任何先兆停车跳电,这一次可不是滑油低压。。。。。
27.低硫油给分油机带来的麻烦,怎么解?
28.主机滑油非正常消耗的祸首原来是“它”。。。。。
29.锅炉冒黑烟后又点不着火了,三管轮求援。。。。。
30.应急发电机启动失败故障,走了“山路十八弯”
31.电喷主机伺服油超压,二台伺服油泵流量传感器指示灯不同步了。。。。
32.新主机一周后就开始莫名不断排温高,揉碎了轮机长、服务工程师、机务的心
33.三管轮求援:都没问题,空调温度就是打不下来
34.脑袋想破都难想到的主机抛锚停车再启动“爆燃”故障
35.三管轮问:锅炉得了“哮喘”病,谁有“神药”?
36.克令吊回转马达输出齿轮总是断齿,看船员专家级分析解决方案,读完受益匪浅!
37.看完这个主副机几近全损的惨烈事件,就知道甲板哥们是怎么“坑”机舱弟兄的
38.Westfalia分油机中文解读,下老大功夫了,读完秒懂(含完整视频)
39.在新下水的ME-C主机船上干了11个月,轮机长有不少心得体会与大家分享!
40.用心制作,时下最流行、最易懂的副机WOOD WARD PSG调速器文档来了
41.分油机这个“连环套”,很多人都会“翻车”
42.主机没命,副机剩下半条命,看完真的想把这样的队友拉出去“毙”了
43.MEC电喷主机这个柱塞行程的故障有点乱,没把轮机长少折腾
44.ME-C电喷主机排温高,张老轨听声诊病,把常规诊断方法运用到了极致
45.柴油机游车无解---一起跳电事件引出的“花样”游车线索
46.出厂一年多的副机总漏油且滑油消耗异常,原因有点“烧脑”!
47.副机冷却水进气低压跳电数月无解...背后实情专家难料
48.破解分油机那些让人迷糊的设计10问-分油机强悍文档来袭
49.这个副机机油压力低的毛病,很不简单!
50.大管说头都想破了,拆了6遍,这个分油机跑油的毛病还是一脸懵.......
51.分油机不排渣,还时不时跑油,分油流量再不足这是要完犊子???
52.专家级讲解救助艇的启停,句句GET POINT,看完无压力。
53.关于回油孔式高压油泵,这篇文章有些知识点可能很多人没掌握.......
54.看完这篇ABB(TPS型)透平的文章,再不懂就是自己的问题了.......
55.YANMAR副机安保测试后无法启动了,绕了不少弯,结局着实上了一课...........
56.应急消防泵建压困难,问题多多,看李老轨如何逐一破解.......
57.由某轮舵机遥控和应急舵均失效故障谈舵机的那些硬核知识点
58.从不同角度成功处理副机排烟温度高问题,极具参考价值........
59.主机滑油不明原因乳化,这锅大管轮得背......
60.副机滑油温度长期居高不下,进厂修理越修越差,原因你品...你仔细品...
61.抵港前安全检查,三管轮连续几次启动救生艇不成功,检查一圈有点“迷糊”了.......
62.运转中的MEC主机突发“雷击”般声响...吓得老轨四处张望...多次实验终于查到病源....
63.半年内冰机连续抱轴、连杆断裂,活塞击穿...平时制冷效果也欠佳...想不到的是.....
64.凌晨3点引水登轮准备离港,舱盖关不下急煞众人...小四轨突生妙计破解困局
65.奇了怪!共用一台空调压缩机,左舷房间热,右舷房间凉.......
66.5个故障案例,5000多字,带你“撸透”旋杯式锅炉
67.2个案例6000字...由透平定位环红套滑脱...深度探索副机透平的那些知识点
68.三个造水机“奇葩”案例,带你进入探索之旅
69.滑油分油机跑油,此案教你如何快速排除
70.这里有一份全面介绍ME-C电喷主机的资料...图文并茂...言简意赅!
71.遭遇史上最强三菱分油机故障,二管快“崩盘”...终极版三菱分油机来了
72.锅炉冒白烟,这原因有点玄乎.........
73.三起主机单缸不发火故障,均与Puncture Valve有关...里面还有颇有些学问
74.锅炉火焰忽闪忽灭,整懵圈电机员和二管...原来毛病就在灯火阑珊处......
75.搞懂空调油压差继电器,关键时刻能救空调压缩机的命.....
76.副机使用大负荷时频繁跳电...并车运行也跳电...调速器背黑锅!

