MAN B&W二冲程主机上的活塞清洁环(PC环)什么时候该换了?不装行不行?
船舶讲武堂技能快速提升学习资料购买,点击下方链接获取详情!
船舶讲武堂资料焕新优惠开售,合订版返现88元,其它返48元...技能提升好帮手!
MAN Energy Solutions于2019年11月发布服务信函SL2019-684/JAP,更新了缸套磨损状态下活塞清洁环(PC环)的更换与操作指导规范,替代原SL2016-620/AAB版本,适用于所有配备PC环的MAN B&W二冲程船用柴油机,旨在解决缸套磨损时PC环更换的认知误区,保障发动机缸体工况稳定。

一、PC环的核心功能与重要性

PC环是发动机设计中的关键部件,核心作用为防止活塞顶岸过度积碳。当活塞接近上止点(TDC)时,PC环通过自身内径与活塞顶岸的配合间隙刮除积碳,避免积碳过量堆积。
若活塞顶岸积碳超标,会对缸体工况产生多重负面影响,甚至造成缸套表面抛光、活塞环与缸套间润滑不足,进而引发活塞环或活塞裙擦伤,还可能改变活塞在缸内的位置,导致缸套与活塞裙间摩擦增大,引发严重部件损坏。因此,非紧急情况严禁拆除PC环运行发动机,仅在无可用PC环的应急场景下可临时无环运行,且需尽快完成故障修复。
同时,随着发动机设计升级,活塞顶岸高度有所增加,顶岸积碳的影响较传统短顶岸发动机更为关键,进一步凸显了PC环的运行保护价值。
二、PC环与缸套的匹配运维原则
PC环与气缸套为配套设计、协同磨损的集成部件,其使用寿命与缸套同步,二者的运维操作需严格遵循匹配原则,核心要求如下:
1.缸体大修时:需对PC环进行检查、清洁,若部件完好则可重新使用,无需强制更换;若因检修需拆卸PC环,必须对其安装位置做好标记,重装时恢复至原位置,避免因位置偏差影响配合精度。
2.安装新缸套时:必须同步安装新的PC环,订购新缸套时需一并订购配套PC环。
3.安装修复后缸套时:缸套裙部上止点位置磨损超规定临界尺寸的修复缸套,需安装与新孔径匹配的PC环,保持二者的配套适配性。
三、PC环更换的判定标准与操作要求
PC环的更换判定核心依据缸套裙部上止点位置的磨损量,而非缸套最大磨损量,具体判定及操作规范如下:
1.可继续使用:PC环无损坏时,清洁后按原标记位置重装即可,划痕标记需精准对齐。
2.可直接更换新标件:若PC环出现断裂、裂纹等损坏,且缸套裙部上止点位置的磨损量小于缸径的0.1%,可直接更换标准规格的新PC环。
3.需咨询原厂指导:若PC环损坏,且缸套裙部上止点位置的磨损量超过缸径的0.1%,需立即联系MAN Energy Solutions获取专业指导;若因特殊原因无法更换缸套,也需向原厂咨询后续处理方案。
四、缸套磨损与PC环检查的实操步骤
为精准判定缸套磨损状态及PC环适配性,需按以下步骤完成检测,相关操作可参考对应作业卡及技术资料:
1.前期准备:拆卸气缸盖和活塞。

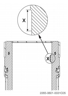
2.测量活塞裙部检查距离:在拆卸的活塞或备用活塞上,测量从顶环槽上边缘到活塞裙部中部的检查距离X并记录。

3.缸套基础测量:放置缸套测量工具,按技术资料2245-0100的4.5条款完成缸套磨损测量和状态评估,缸套新直径参考数据T22-107。

4.缸套裙部上止点位置测量:除测量工具标注的测点外,需额外测量缸套裙部上止点位置的直径;该位置位于活塞顶环上止点形成的磨损脊下方X毫米处(X为步骤2测量值),用记号笔标记后测量孔径,用于计算磨损量。
5.PC环检查与标记:拆卸缸套与气缸盖间的PC环时,做好位置标记;同步按数据T22-108、T22-109完成PC环自身尺寸测量,检查其是否存在断裂、裂纹等损坏。
以下为历史经典文章合集链接,需要自取
1.主机启动困难,负荷严重偏离正常值,轮机长“糟心”战斗数天-真心不容易!
2.液压舱盖“跳劲舞”,甲板机头很害怕-三管轮关键时刻放大招,甲机大写的一个“服”.
3.传动皮带断到心理有阴影-分油机这病老中医都难搞!
4.这个YANMAR副机运转中突然滑油低压停车跳电故障-有点难于预料!
5.从太平洋到印度洋的45天,ME-C电喷主机强悍故障来袭!
6.主机滑油消耗暴增-祸首分油机,跑油跑出新高度,有点代表性!
7.分油机压力低报警,三轨说阀门会自己动,机舱闹鬼?一起来捉妖!
8.疑难分析-WARTSIL-RT-FLEX-50D电喷主机某缸喷油时间过长报警!
9.非比寻常的主机单缸排烟温度高、烟囱冒黑烟故障。
10.二例诡异的副机滑油异常消耗事件-元芳!你怎么看?
11.主机这个间歇性排烟温度高的故障-很不简单!
12.1年ME-C电喷主机新船,连续排温低,扫气道着火-事件真相匪夷所思!
13.夜半歌声很“瘆人”,汽笛该进疯人院-到底是什么鬼?
14.船舶空压机滑油容易乳化这个老大难问题,怎么破?
15.破解分油机那些让人迷糊的设计10问-分油机强悍文档来袭
16.空气分配站安全阀总是跳,源起减压阀-都说减压阀有点难,读完这篇都是专家!
17.都说MAN ME-C电喷主机油头难拔-今天我来放个大招!
18.主机滑油压力低,是谁动了机油泵的回油阀?又是闹鬼?-结局刷新你的认知!
19.主机“气功”没练好!老跑气-高级轮机长(陈老轨),教你怎么练!
20二管轮:副机暖缸水温度上不来,系统设计有问题?原来又一次长见识!
21.怪不怪?MAN B&W ME-C电喷主机单单平均指示压力低(Pi),一起来看看。。。。
22.多年数个缸套的代价,这个主机缸套异常磨损有点顽。。。。
23.这个MAN主机排气敲击故障太“坑爹”,99%的人会被忽悠。。。。。。
24.“要命”的某轮克林吊无法启动故障。。。。。
25.这个“懵逼”的主机主轴承滑油低压故障,看完直想哭。。。。。
26.YANMAR副机航行中没有任何先兆停车跳电,这一次可不是滑油低压。。。。。
27.低硫油给分油机带来的麻烦,怎么解?
28.主机滑油非正常消耗的祸首原来是“它”。。。。。
29.锅炉冒黑烟后又点不着火了,三管轮求援。。。。。
30.应急发电机启动失败故障,走了“山路十八弯”
31.电喷主机伺服油超压,二台伺服油泵流量传感器指示灯不同步了。。。。
32.新主机一周后就开始莫名不断排温高,揉碎了轮机长、服务工程师、机务的心
33.三管轮求援:都没问题,空调温度就是打不下来
34.脑袋想破都难想到的主机抛锚停车再启动“爆燃”故障
35.三管轮问:锅炉得了“哮喘”病,谁有“神药”?
36.克令吊回转马达输出齿轮总是断齿,看船员专家级分析解决方案,读完受益匪浅!
37.看完这个主副机几近全损的惨烈事件,就知道甲板哥们是怎么“坑”机舱弟兄的
38.Westfalia分油机中文解读,下老大功夫了,读完秒懂(含完整视频)
39.在新下水的ME-C主机船上干了11个月,轮机长有不少心得体会与大家分享!
40.用心制作,时下最流行、最易懂的副机WOOD WARD PSG调速器文档来了
41.分油机这个“连环套”,很多人都会“翻车”
42.主机没命,副机剩下半条命,看完真的想把这样的队友拉出去“毙”了
43.MEC电喷主机这个柱塞行程的故障有点乱,没把轮机长少折腾
44.ME-C电喷主机排温高,张老轨听声诊病,把常规诊断方法运用到了极致
45.柴油机游车无解---一起跳电事件引出的“花样”游车线索
46.出厂一年多的副机总漏油且滑油消耗异常,原因有点“烧脑”!
47.副机冷却水进气低压跳电数月无解...背后实情专家难料
48.破解分油机那些让人迷糊的设计10问-分油机强悍文档来袭
49.这个副机机油压力低的毛病,很不简单!
50.大管说头都想破了,拆了6遍,这个分油机跑油的毛病还是一脸懵.......
51.分油机不排渣,还时不时跑油,分油流量再不足这是要完犊子???
52.专家级讲解救助艇的启停,句句GET POINT,看完无压力。
53.关于回油孔式高压油泵,这篇文章有些知识点可能很多人没掌握.......
54.看完这篇ABB(TPS型)透平的文章,再不懂就是自己的问题了.......
55.YANMAR副机安保测试后无法启动了,绕了不少弯,结局着实上了一课...........
56.应急消防泵建压困难,问题多多,看李老轨如何逐一破解.......
57.由某轮舵机遥控和应急舵均失效故障谈舵机的那些硬核知识点
58.从不同角度成功处理副机排烟温度高问题,极具参考价值........
59.主机滑油不明原因乳化,这锅大管轮得背......
60.副机滑油温度长期居高不下,进厂修理越修越差,原因你品...你仔细品...
61.抵港前安全检查,三管轮连续几次启动救生艇不成功,检查一圈有点“迷糊”了.......
62.运转中的MEC主机突发“雷击”般声响...吓得老轨四处张望...多次实验终于查到病源....
63.半年内冰机连续抱轴、连杆断裂,活塞击穿...平时制冷效果也欠佳...想不到的是.....
64.凌晨3点引水登轮准备离港,舱盖关不下急煞众人...小四轨突生妙计破解困局
65.奇了怪!共用一台空调压缩机,左舷房间热,右舷房间凉.......
66.5个故障案例,5000多字,带你“撸透”旋杯式锅炉
67.2个案例6000字...由透平定位环红套滑脱...深度探索副机透平的那些知识点
68.三个造水机“奇葩”案例,带你进入探索之旅
69.滑油分油机跑油,此案教你如何快速排除
70.这里有一份全面介绍ME-C电喷主机的资料...图文并茂...言简意赅!
71.遭遇史上最强三菱分油机故障,二管快“崩盘”...终极版三菱分油机来了
72.锅炉冒白烟,这原因有点玄乎.........
73.三起主机单缸不发火故障,均与Puncture Valve有关...里面还有颇有些学问
74.锅炉火焰忽闪忽灭,整懵圈电机员和二管...原来毛病就在灯火阑珊处......
75.搞懂空调油压差继电器,关键时刻能救空调压缩机的命.....
76.副机使用大负荷时频繁跳电...并车运行也跳电...调速器背黑锅!

