藏在油温与风油比里的陷阱:二个SAACKE锅炉点火故障案例解析
船舶讲武堂技能快速提升学习资料购买,点击下方链接获取详情!
船员专属实战资料,无网也能学...新手入门、老手提升、职务晋升好帮手!
锅炉是船舶最早实现自动控制的核心辅助设备之一,在柴油机动力船舶上,其产生的蒸汽主要用于加热燃油、滑油及满足船员日常生活需求,对船舶正常营运至关重要。锅炉一旦出现故障,不仅会影响船舶正常运转,还可能导致船级证书失效、船舶不适航等严重后果。本文结合作者多年工作经验,针对两起同型号船舶锅炉自动点火故障实例,详细分析故障排查思路与处理方法,为同行提供实操参考。
一、案例一:自动点火位置风油比例不匹配故障
1.1 故障概况

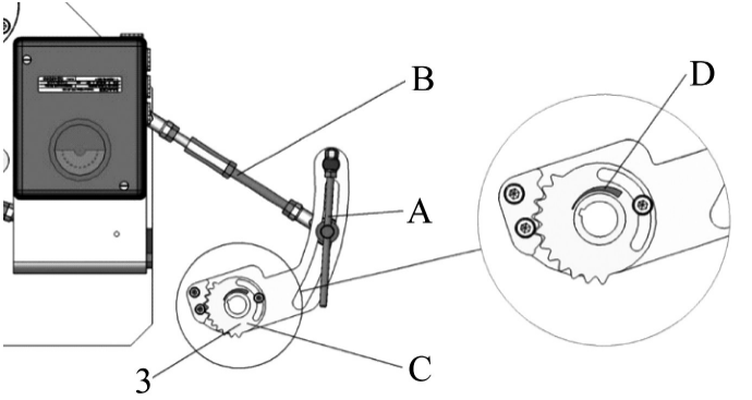
图1 燃烧器风量分配
A—鼓风机;B—一次风;C—二次风;D—三次风
某轮锅炉型号为SAACKE K/KD2.5+1.8/7,燃烧器型号为SKVJ-M18(立式烟管锅炉,工作压力0.7 MPa),因自动点火故障,长期只能手动点火,既增加安全隐患,也加重主管人员工作量。该锅炉燃烧器为单体转杯燃烧器,采用旋转雾化原理,以柴油为点火及燃料油,由鼓风机提供一次风(雾化风)、二次风(燃烧风)、三次风(稳焰风),风油配比由复合调节器控制,复合调节器1挡为自动点火最小负荷位置,10挡为最大负荷,可无级调节。

图2 复合调节器
1.2 故障排查
现场试验发现:自动点火时,预扫风正常、1挡点火火焰建立正常,但主燃油阀打开后火焰熄灭;手动点火时,1挡点火同样失败,仅将复合调节器调至3.5挡才能点火成功。据此排查:
•排除自动点火程序故障:自动点火时点火程序运行正常,仅负荷位置影响点火结果。
•排除油路故障:手动3.5挡可成功点火,说明油路无异常。
•定位故障点:点火成功与否取决于复合调节器位置,判断为自动点火(1挡)时风油比例不匹配。
注:燃烧器风量分配中,一次风负责雾化燃油、控制火焰长度;二次风控制燃烧风量;三次风稳定火焰、防止残炭堆积;复合调节器由伺服电机控制,接收程序控制器se@vis FSC信号,调节风油最佳配比。
1.3 故障处理
风油比例出厂时由服务工程师设定,长期运行后会因设备磨损、燃油品质变化、滤器堵塞等因素偏离最佳值。优先通过清洁烟管、布风器、燃油滤器或调整油温、油压解决,无效后再调节风油比例,具体步骤如下:
1.手动测试确定最佳点火位置:反复测试手动点火,确定3挡为最佳点火位置(风油比例适宜)。
2.调整1挡(自动点火位置)油量:将控制圆盘转至3挡,记录油门开度;转至1挡,通过油量调节器(粗调齿轮粗调、小负荷调节螺杆精调),使1挡油门开度与3挡一致。

图3 油量调节器
3—油量调节器;A—满负荷调节螺杆;B—小负荷调节螺杆;C—粗调齿轮;D—指示箭头

图4 控制圆盘
1—一次风杠杆;2—二次风杠杆;3—上曲线条;4—下曲线条;5—调节螺栓;6—滑块;7—转盘
3.调整1挡风风量:拆下控制圆盘,记录调整前3挡一次风、二次风曲线条滑块距离(X1、X2),将1挡滑块距离调至X1、X2;微调2~10挡滑块,保持曲线条曲度与调整前一致(遵循“负荷越大,风门变化量越大”原则,避免大幅调整曲度)。
调节后多次自动点火试验均成功,锅炉自动点火功能恢复。
二、案例二:燃油温度及点火时序异常故障
2.1 故障概况
与案例一同型号锅炉(SAACKE K/KD2.5+1.8/7,SKVJ-M18燃烧器),以柴油点火、重油为燃料油,自动点火功能不稳定,偶尔出现点火故障,再次点火可恢复;天气寒冷或锅炉长期停用后更易出现,点火成功后功能恢复正常。点火时火焰建立正常,但主油阀打开、燃料油投入时,偶尔因燃烧不稳定熄火停炉。
2.2 故障排查
结合故障现象及使用记录排查:故障频率低、可自行恢复,且与环境温度、停炉时间相关,初步判断为燃油温度偏低,导致燃油黏度增大、雾化效果不佳,进而引发燃烧不稳定。
2.3 故障处理
针对燃油温度及点火时序开展针对性处理,具体措施如下:

1.修复死油区加热装置:燃烧器内部存在“死油区”(无法循环加热的管路),出厂配备④号(23W)和⑤号(250W)加热器,用于维持死油区燃油温度(④号低于60℃运行,⑤号扫风时运行)。检测发现两加热器阻值为无穷大(正常阻值:④号2300Ω、⑤号212Ω),更换备件后恢复加热功能。
表1 燃油黏度检测结果
加装日期 | 果/(mm2/s) | 黏度)/(mm2/s) | |
2.调整燃油预加热温度:转杯雾化器要求燃油运动黏度≤45mm²/s,厂家提供的重油进口参考温度为70~90℃,但该轮燃油品质波动较大(50℃运动黏度143.4~272.0mm²/s),预加热器设定温度长期保持75℃,导致部分工况下黏度不达标。根据说明书黏度—温度关系图,结合实际燃油黏度,重新设定预加热温度(确保黏度≤45mm²/s);混油时,结合供油单元实际黏度和温度调整。

表2 参数代码
代码 | 范围/s | 值/s | 值/s | ||
transformer time 点火变压器通电时间 | |||||
1st safety time 一级点火安全时间 | |||||
for ignition flame 点火火焰稳定时间 | |||||
2nd safety time 二级点火安全时间 | |||||
for main flame 主火焰稳定时间 |
3.优化点火时序参数:通过程序控制器se@vis FSC(人机交互单元HMI操作),检查并调整点火时序参数,重点将二级点火安全时间t5(3s→5s)、主火焰稳定时间t6(1s→2s)延长,利于死油区燃油燃烧和火焰稳定(参数调整需登录2级权限,注意部分参数单位为0.1s)。
经上述处理后,锅炉自动点火功能稳定,未再出现点火失败现象。
三、结束语
现代船舶自动化程度不断提高,船舶锅炉自动化功能复杂,其故障多由多种因素共同影响导致。为确保锅炉正常运行,除日常做好维护保养外,主管人员需熟练掌握锅炉工作控制原理,故障发生时进行全方位综合分析,精准定位故障点、及时排查处理,保障船舶营运安全。
参考文献
[1]程启炜.SAACKE船用锅炉自动点火故障实例[J].航海技术,2023(04):41-44.
作者:程启炜
以下为历史经典文章合集链接,需要自取
1.主机启动困难,负荷严重偏离正常值,轮机长“糟心”战斗数天-真心不容易!
2.液压舱盖“跳劲舞”,甲板机头很害怕-三管轮关键时刻放大招,甲机大写的一个“服”.
3.传动皮带断到心理有阴影-分油机这病老中医都难搞!
4.这个YANMAR副机运转中突然滑油低压停车跳电故障-有点难于预料!
5.从太平洋到印度洋的45天,ME-C电喷主机强悍故障来袭!
6.主机滑油消耗暴增-祸首分油机,跑油跑出新高度,有点代表性!
7.分油机压力低报警,三轨说阀门会自己动,机舱闹鬼?一起来捉妖!
8.疑难分析-WARTSIL-RT-FLEX-50D电喷主机某缸喷油时间过长报警!
9.非比寻常的主机单缸排烟温度高、烟囱冒黑烟故障。
10.二例诡异的副机滑油异常消耗事件-元芳!你怎么看?
11.主机这个间歇性排烟温度高的故障-很不简单!
12.1年ME-C电喷主机新船,连续排温低,扫气道着火-事件真相匪夷所思!
13.夜半歌声很“瘆人”,汽笛该进疯人院-到底是什么鬼?
14.船舶空压机滑油容易乳化这个老大难问题,怎么破?
15.破解分油机那些让人迷糊的设计10问-分油机强悍文档来袭
16.空气分配站安全阀总是跳,源起减压阀-都说减压阀有点难,读完这篇都是专家!
17.都说MAN ME-C电喷主机油头难拔-今天我来放个大招!
18.主机滑油压力低,是谁动了机油泵的回油阀?又是闹鬼?-结局刷新你的认知!
19.主机“气功”没练好!老跑气-高级轮机长(陈老轨),教你怎么练!
20二管轮:副机暖缸水温度上不来,系统设计有问题?原来又一次长见识!
21.怪不怪?MAN B&W ME-C电喷主机单单平均指示压力低(Pi),一起来看看。。。。
22.多年数个缸套的代价,这个主机缸套异常磨损有点顽。。。。
23.这个MAN主机排气敲击故障太“坑爹”,99%的人会被忽悠。。。。。。
24.“要命”的某轮克林吊无法启动故障。。。。。
25.这个“懵逼”的主机主轴承滑油低压故障,看完直想哭。。。。。
26.YANMAR副机航行中没有任何先兆停车跳电,这一次可不是滑油低压。。。。。
27.低硫油给分油机带来的麻烦,怎么解?
28.主机滑油非正常消耗的祸首原来是“它”。。。。。
29.锅炉冒黑烟后又点不着火了,三管轮求援。。。。。
30.应急发电机启动失败故障,走了“山路十八弯”
31.电喷主机伺服油超压,二台伺服油泵流量传感器指示灯不同步了。。。。
32.新主机一周后就开始莫名不断排温高,揉碎了轮机长、服务工程师、机务的心
33.三管轮求援:都没问题,空调温度就是打不下来
34.脑袋想破都难想到的主机抛锚停车再启动“爆燃”故障
35.三管轮问:锅炉得了“哮喘”病,谁有“神药”?
36.克令吊回转马达输出齿轮总是断齿,看船员专家级分析解决方案,读完受益匪浅!
37.看完这个主副机几近全损的惨烈事件,就知道甲板哥们是怎么“坑”机舱弟兄的
38.Westfalia分油机中文解读,下老大功夫了,读完秒懂(含完整视频)
39.在新下水的ME-C主机船上干了11个月,轮机长有不少心得体会与大家分享!
40.用心制作,时下最流行、最易懂的副机WOOD WARD PSG调速器文档来了
41.分油机这个“连环套”,很多人都会“翻车”
42.主机没命,副机剩下半条命,看完真的想把这样的队友拉出去“毙”了
43.MEC电喷主机这个柱塞行程的故障有点乱,没把轮机长少折腾
44.ME-C电喷主机排温高,张老轨听声诊病,把常规诊断方法运用到了极致
45.柴油机游车无解---一起跳电事件引出的“花样”游车线索
46.出厂一年多的副机总漏油且滑油消耗异常,原因有点“烧脑”!
47.副机冷却水进气低压跳电数月无解...背后实情专家难料
48.破解分油机那些让人迷糊的设计10问-分油机强悍文档来袭
49.这个副机机油压力低的毛病,很不简单!
50.大管说头都想破了,拆了6遍,这个分油机跑油的毛病还是一脸懵.......
51.分油机不排渣,还时不时跑油,分油流量再不足这是要完犊子???
52.专家级讲解救助艇的启停,句句GET POINT,看完无压力。
53.关于回油孔式高压油泵,这篇文章有些知识点可能很多人没掌握.......
54.看完这篇ABB(TPS型)透平的文章,再不懂就是自己的问题了.......
55.YANMAR副机安保测试后无法启动了,绕了不少弯,结局着实上了一课...........
56.应急消防泵建压困难,问题多多,看李老轨如何逐一破解.......
57.由某轮舵机遥控和应急舵均失效故障谈舵机的那些硬核知识点
58.从不同角度成功处理副机排烟温度高问题,极具参考价值........
59.主机滑油不明原因乳化,这锅大管轮得背......
60.副机滑油温度长期居高不下,进厂修理越修越差,原因你品...你仔细品...
61.抵港前安全检查,三管轮连续几次启动救生艇不成功,检查一圈有点“迷糊”了.......
62.运转中的MEC主机突发“雷击”般声响...吓得老轨四处张望...多次实验终于查到病源....
63.半年内冰机连续抱轴、连杆断裂,活塞击穿...平时制冷效果也欠佳...想不到的是.....
64.凌晨3点引水登轮准备离港,舱盖关不下急煞众人...小四轨突生妙计破解困局
65.奇了怪!共用一台空调压缩机,左舷房间热,右舷房间凉.......
66.5个故障案例,5000多字,带你“撸透”旋杯式锅炉
67.2个案例6000字...由透平定位环红套滑脱...深度探索副机透平的那些知识点
68.三个造水机“奇葩”案例,带你进入探索之旅
69.滑油分油机跑油,此案教你如何快速排除
70.这里有一份全面介绍ME-C电喷主机的资料...图文并茂...言简意赅!
71.遭遇史上最强三菱分油机故障,二管快“崩盘”...终极版三菱分油机来了
72.锅炉冒白烟,这原因有点玄乎.........
73.三起主机单缸不发火故障,均与Puncture Valve有关...里面还有颇有些学问
74.锅炉火焰忽闪忽灭,整懵圈电机员和二管...原来毛病就在灯火阑珊处......
75.搞懂空调油压差继电器,关键时刻能救空调压缩机的命.....
76.副机使用大负荷时频繁跳电...并车运行也跳电...调速器背黑锅!

