北京最会踢球的人形机器人,融资近10亿

机器人前瞻(公众号:robot_pro)
作者 | 程茜
编辑 | 漠影
机器人前瞻4月17日消息,今日,北京具身智能创企
加速进化
宣布于近日完成
近10亿元
融资,北京高精尖产业基金、京国盛基金与华控基金联合领投,联想之星、国海创新资本、交银资本参投,深创投、源码资本、英诺基金、IDG等老股东加码。
本轮融资将用于加速进化的全球化交付网络建设、具身模型算法开发、机器人产品迭代升级。
该公司还披露了一组最新的经营收据。其2026年一季度出货量同比增长
500%
,达到2025年
前8个月总和
;今年1~2月,加速进化新签订单同比增长超
800%
,在手订单规模达到
数亿元
;2025年12月实现创立以来
首次月度经营性现金流回正
。
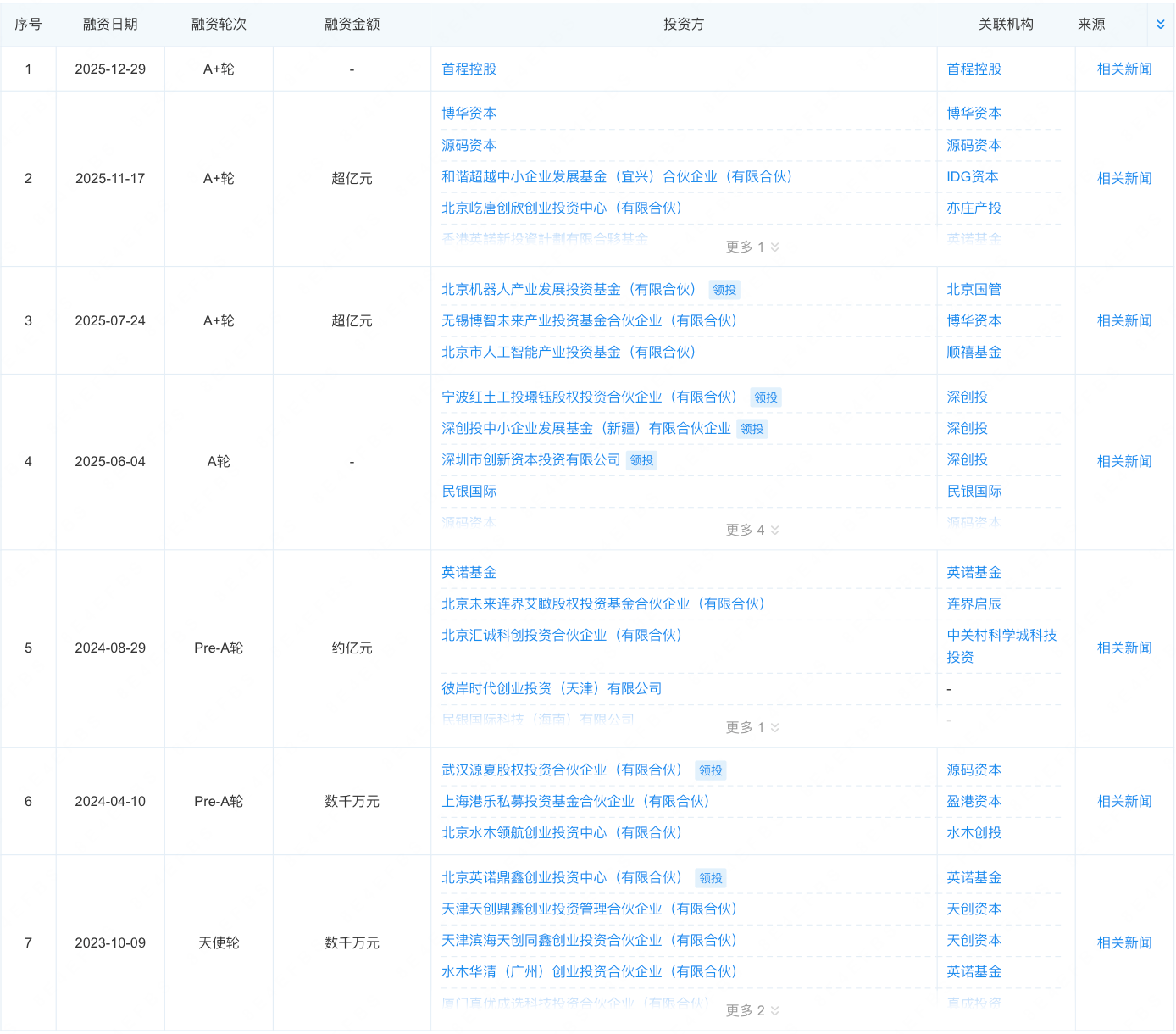
加速进化成立于2023年,其早期战略面向科研教育场景,基于团队在机器人、软件、芯片和商业化等方面的经验,打造人形机器人、操作系统、开发工具等软硬件平台。根据企查查的公开信息,该公司此前已经完成
7轮
融资。

▲加速进化的融资情况(图源:企查查)
加速进化创始人兼首席科学家赵明国
为清华大学自动化系研究员,担任清华大学导航与控制研究所机器人控制实验室主任,无人系统中心类脑机器人中心主任,深耕人形机器人领域20余年,主导多项国家级科研项目。
加速进化创始人兼CEO程昊
毕业于清华大学自动化系,早期主导人形机器人运动控制算法研发,曾创立智能日程管理APP“朝夕日历”并在被字节跳动收购后任飞书产品副总裁。

▲加速进化创始人兼首席科学家赵明国(左)、加速进化创始人兼CEO程昊(右)
目前该公司已经打造了
Booster T1
和
Booster K1
两大机器人产品。Booster K1的主要特性包括轻量便携、可手机APP操控、动作库持续更新,并适配科研、教育、足球等多类场景。
具体出货量方面,加速进化小尺寸人形机器人Booster K1累计出货
超千台
,覆盖超过20个国家、400个客户。
今年1月,在全球最大的消费电子展CES上,加速进化当时展出的
所有可售机器人现货被订完
。

▲Booster K1机器人协同演绎非遗醒狮(图源:加速进化)
在赛事端,加速进化已经助力多个参赛队伍获得机器人世界杯RoboCup、2025世界人形机器人运动会的冠军。
2025年7月,加速进化的机器人助力中国清华火神队,首次在机器人世界杯RoboCup的AdultSize 组别(人形机器人足球成人组一米以上机器人)夺冠,此前28年均为欧美国家夺冠。
在去年8月的2025世界人形机器人运动会上,加速进化T1助力各国参赛队伍赢下了足球3v3和5v5赛事的全部奖牌,分别为2金2银2铜,以6枚奖牌的成绩,位列奖牌榜第三。
