五份专利曝光,长文拆解特斯拉V3灵巧手技术路线

作者丨文俐亭
编辑丨马晓宁

2025 年,Optimus 人形机器人的量产计划遭遇了意想不到的“拦路虎”。
马斯克曾放出豪言称: Optimus 将进入限量生产阶段,年内将量产至少 5000 台,2026 年,产量将进一步攀上5 万台。
然而,现实是,这一量产计划被不断搁浅、延迟。
主要挑战来自灵巧手。在当年10 月的特斯拉第三季度财报电话会议上,马斯克坦言:“制造手和前臂是一项极其艰巨的工程挑战。从机电角度来看,我认为它比机器人的其他部分都更难。前臂和手的制造难度甚至超过了机器人的其他所有部分。”
多家媒体报道,特斯拉已暂停Optimus 生产线,弗里蒙特工厂里堆了几百台无手的机器人。
但为机器人准备的产线还在扩大,2026 年 4 月,马斯克宣布正式停产 Model S 和 Model X 两款车型,涉及工厂全面转向机器人生产。早些时候, 3 月,特斯拉发布了 Optimus 第三代(Gen3)的量产版演示视频,重点展示了灵巧手和减速机构的突破。
4 月 16 日,世界知识产权组织公布了特斯拉第三代灵巧手方面的一批专利,总共5 项:
WO 2026/080701 是一只包含25自由度的灵巧手及保护装置;WO 2026/080691、WO 2026/080690、WO 2026/080693 分别是前臂、手腕、手指,WO 2026/080687 是缆线布设。
那么,灵巧手的卡点,究竟解决得怎么样了?

01
整体构型:“22+2+1”自由度
先来看一些关键参数,自由度分配:
▪ 肘部:1 个自由度(滚动)——提供大范围定位。
▪ 腕部:2个自由度(俯仰与偏航)——提供精细的姿态调整。
▪ 手部:22个自由度——实现灵巧操作的核心。
中央三指(食、中、无名指):各 4 个自由度。模仿人类指骨的掌指关节(MCP)屈伸与收展,以及近指间关节(PIP)、远指间关节(DIP)的屈伸。
小指与拇指:各 5 个自由度。在中央指基础上,增加了对掌关节,使拇指能与其余四指实现真正的对握,这是完成捏取、抓握等复杂动作的生物学基础。

这一配置为后续的驱动系统定下了基调:全部自由度的驱动源,均被集成于前臂。手指本身,则通过柔韧的“肌腱”(高强度缆绳)被远程驱动。考量有三:
▪ 手部极致轻量化:最重的电机、传动部件全部移出,使得手部重量锐减。这不仅降低了运动惯量,让动作更迅捷、更节能,更关键的是,它让纤细的手指尺寸得以逼近真人,这是实现“通用”抓握和仿生运动轨迹的前提。
▪ 解决散热问题:将 25 个发热源集中到前臂这个更大的“散热舱”内,为散热系统(如液冷通道)提供了可能,远胜于在手指狭小空间内解决25个微型电机的“噩梦”。
▪ 维护性与可靠性提升:驱动单元集中,意味着故障诊断、维护更换可以像更换电脑内存条一样在前臂完成,无需拆解精密的手部,为未来大规模部署的可维护性奠定了基础。
不过,长缆绳远程驱动的方案也被诟病会带来更严重的磨损、延迟等问题,对此,特斯拉在其他几份专利中提出了解法,后文会做详细介绍。
整只手遍布传感器,包括手指的远节、中节和近节,拇指和小指的对掌骨,以及手掌主体,主要用于触觉感知和关节位置感知。
此外,该专利文档中还反复提及一种在整体封装中用到的多功能“保护手套”。
它一方面能密封内部精密机构,防尘、防水、防异物侵入,并保护下方的柔性关节层和肌腱,减轻磨损,以应对真实世界的车间、家庭等复杂环境。这种密封性也辅助了内部散热环境的稳定。另一方面,“手套”表面的纹理还可以大幅提升抓握摩擦系数,作为“皮肤”载体,与下层触觉传感器协同,优化力感知与滑移检测。
02
前臂:25个电机塞进一根“圆柱”
前臂是灵巧手复杂的动力舱。特斯拉将驱动五指和手腕所需的全部 25 个独立动力单元,集成进一根直径近似人类前臂的圆柱空间内。
但这不仅是简单的“塞进去”,更是一场关于空间拓扑、热力学和电磁兼容性的极限工程。
▪ 空间极致:人类前臂的骨骼(尺骨、桡骨)周围空间极为有限。要在同等直径(约70-90 毫米)的圆柱内,塞入如此之多电机和手腕旋转系统,传统布局几乎无解。再加上每个独立电机都需要电源、控制信号和位置反馈线,其排布、连接、防磨损以及相互间的电磁干扰(EMI)管理,都使复杂度呈指数级上升。
▪ 热管理地狱:高密度集成的电机是热源。在密闭空间内,热量急剧积聚,极易导致电机过热、性能降级甚至永久损坏。
传统机器人学通常选择妥协:要么将电机上移至躯干或上臂,通过长腱绳传动,但这样做通常会导致延迟与更严重的损耗;要么牺牲手的灵巧度,减少自由度。
对此,特斯拉通过轴向串联、径向分层、平行布局环环相扣,共同破解上述矛盾。
1、轴向串联
专利将前臂外壳清晰地划分为第一外壳段与第二外壳段,沿一条中央轴线首尾串联。
▪ 第一外壳段:只容纳一个旋转致动器。它的唯一使命是驱动整个前臂绕轴线旋转,实现“手腕翻滚”。它通过齿轮组与机器人躯干连接,是一个独立的粗调度模块。
▪ 第二外壳段:则是一个高密度动力阵列舱,内部塞满了所有用于驱动手指和手腕偏航/俯仰的线性致动器(专利显示数量≥ 17 个)。
通过这种设计,提供整体大范围旋转的“姿态电机”与负责精细操作的“灵巧电机群”得以在物理上分离。两者互不干扰,可以独立测试与维护。旋转致动器的大扭矩需求,不再影响线性致动器阵列的精密排布。这如同火箭的一级与二级分离,各自专注核心任务。
2、径向分层
那么,如何将这么多电机塞进第二段?
特斯拉采用了分层策略,像剥洋葱或套娃一样利用每一层空间。

第二外壳段内部进一步划分为外筒区域和内芯区域:
▪ 外层(手部致动器):电机以圆周阵列形式,等距镶嵌在外筒内壁上,如同在炮管内壁嵌了一圈小圆柱。
▪ 内层(手部致动器+ 腕部致动器):更靠中心的电机填充在内芯区域。驱动手腕的线性致动器通常位于核心两侧,其余手指电机则填充空隙。
通过这种方式,圆柱截面的每一毫米都被紧致地填塞,空间利用率得以最大化;同时,电机间的均匀间隙形成了轴向散热通道,便于空气对流或冷却液循环,将热量高效带出;电机在空间上错开布置,也有助于减少密集磁场间的相互干扰。
3、平行布局
这是最精妙、也最反直觉的一笔。
专利强调,所有线性致动器都“沿大致平行于中央轴线的纵向方向延伸”。这与许多设计中电机横向放置、再用直角齿轮改变动力方向的做法截然不同。
这彻底消除了直角传动机构(如蜗轮蜗杆)所占用的额外体积,输出推杆的伸缩方向自然指向手腕和手掌,更便于通过腱绳或连杆进行近乎直线的动力传递,损耗最低,响应最快。而且这种细长圆柱体平行排列的形态,复现了人类前臂由尺骨和桡骨构成的狭长骨骼与肌腱束的走向,是实现“人体尺度”外观与运动范式的物理基础。
更进一步,这种架构实现了一体化控制:前臂内部直接集成了旋转PCB组件和线性PCB组件,囊括了控制器、处理器、逆变器和所有传感器接口。这意味着,整个前臂组件除了电源和通信总线接口,是一个功能完整的独立模块。它可以整体制造、测试、安装和更换,极大简化了机器人的总装、维护流程,并因接口的极简化而大幅提升了系统可靠性。
03
手腕:双电机+万向节控制两种旋转
拆解完前臂结构后,让我们将目光上移到一个更复杂、更关键的枢纽——手腕。它连接着动力总成(前臂)与执行末端(手掌),数十根“肌腱”缆绳在这里“中转”。
通常情况下,手腕会面临一个经典的“不可能三角”:高灵活度、大通道空间、极致紧凑。
▪ 灵活度要求:手腕需要实现两个核心自由度——偏航(Yaw,左右摆动)和俯仰(Pitch,上下摆动),以适配千变万化的抓取姿态。
▪ 通道要求:数十根“肌腱”及传感器线束必须无损、低摩擦地穿过这个不断活动的地带。
▪ 紧凑性要求:它必须在极小的尺度空间内,同时完成高强度运动、保护缆绳,如同“螺蛳壳里做道场”。作为主要承力部件,它还必须具备高刚度和百万次循环的可靠性。
传统机器人手腕,通常为了追求运动而牺牲布线空间(比如缆绳被迫绕行,易磨损),或为了布线而限制了运动范围与结构刚度。如何用最少的活动部件、最简洁的力流路径、最紧凑的空间拓扑,实现一个可靠且易于生产的动力与信号分配枢纽?
特斯拉没有采用传统的、每个自由度独立驱动的串联方式,而是用两个线性电机(致动器),通过一套精确定义的连杆和万向节几何,同时且独立地控制了两个旋转自由度。
其核心部件大致可以分为四部分:
▪ 中央万向节:手腕的物理旋转中心,定义了偏航轴和俯仰轴。它像一颗心脏,被悬臂式地安装在前臂支架上。
▪ 一对线性致动器:平行置于前臂,位于手腕中心的两侧,如同两个对称的推力引擎。
▪ 一对弧形连杆:连接电机与手掌的“力臂”,其向外扩再向内收的弧形是点睛之笔。
▪ 一对耦合万向节:连接连杆与手掌的“方向节”,其轴线方向经过精密计算。

其控制逻辑大致是这样的:
▪ 控制“俯仰”:当两个线性电机同步同速地伸出或缩回时,它们通过弧形连杆,对手掌根部施加一对对称的推力/拉力。由于耦合万向节的第二轴线与俯仰轴平行,这对力会纯粹地驱动手掌绕俯仰轴做仰俯运动,而不产生偏航转动。
▪ 控制“偏航”:当两个线性电机差动运动(一个伸出一个缩回,或速度不同)时,它们通过连杆产生一个旋转的力偶,驱动中央万向节连同手掌一起,绕偏航轴进行左右摆动。
专利原文也清晰地定义了这种独立性:
“该几何关系允许第一致动器和第二致动器之间的差动致动来实现围绕偏航轴的旋转,同时第一致动器和第二致动器的统一致动实现围绕俯仰轴的旋转。”
通俗地说,特斯拉用两个电机和一套集成机构,替代了传统方案中可能需要四个电机(每轴一对)的复杂系统,实现了极致的紧凑。

此外,这一结构还带来了一系列额外的好处:
▪ 提升线缆耐久度
中央万向节通过轴承以悬臂方式安装在前臂支架上。
这一设计在万向节下方创造了一个宝贵的、受保护的连续体积。所有控制手指的缆绳束,得以直接从关节旋转中心的正下方笔直穿过。
这意味着,无论手腕如何疯狂地偏航或俯仰,缆绳束的弯曲半径始终最大,路径变化最小。这极大减少了因路径弯折导致的长度变化、磨损和不同手指运动间的力学串扰。
▪ 为前臂腾出空间
前文已经提到,特斯拉将 25 个电机塞进了前臂,而手腕设计是这一切的前提。
手腕的两个驱动电机平行贴于两侧,中央下方是宽敞的缆绳通道。这种布局高效分割了前臂的横截面空间,使得那 25 个电机可以在前臂并排或层叠排列,互不干扰。
▪ 最大化自由度
专利中的连杆并非直杆,而是有意识的弧形设计。这并非为了美观,而是为了在手腕进行大角度运动时,连杆自身能够巧妙地避让前臂支架等周围结构,从而最大化运动范围。
在手掌根部,特斯拉还进行了一个“凹口”设计。当手腕向后极限伸展时,前臂支架的末端可以嵌入这个凹口,如同折叠刀的刀根嵌入手柄,避免了结构干涉,进一步增大了伸展角度。
▪ 确保输入“纯粹”
每个线性电机的输出端,都被一个滑块严格约束在直线轨道上运动。
这确保了电机施加给连杆的力,永远是纯粹的轴向推力/拉力,消除了有害的侧向分力或弯矩,进而使得动力传递高效,控制模型简洁可靠。
04
手指:“柔性韧带”定义运动
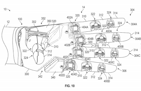
最后,灵巧手的最末端——手指,是机器人直接触摸世界执行任务的“最后几厘米”。
手指所面临的空间困境相比前臂、手腕,有过之而无不及,纤细的指骨必须为传感器线缆、驱动肌腱乃至可能的嵌入式电子元件提供可靠通道,同时保持外观流畅。
与其同时,它还必须应对另外两个难题:
▪ 仿生平滑运动:运动轨迹模仿人类手指,形成自然抓握弧线。
▪ 超长寿命与可靠性:手指是活动最频繁的部件,需承受数百万至上亿次弯曲循环,而无明显磨损、松弛或失效。
传统方案通常会选择基于金属销钉和轴承的铰链,但这会导致在关节处形成布线“死穴”——线缆必须绕行,易被挤压磨损,寿命有限,且运动轨迹生硬。
回归第一性原理:关节的本质,是允许一个自由度(弯曲),同时约束其他五个自由度(拉伸、压缩、横向平移等)。那么,能否用一种结构,直接实现这种约束?
特斯拉给出的答案是一个彻底摒弃轴承、销钉和齿轮的“无销关节”。它由三个核心部件构成:
▪ 指骨:拥有精密加工的弧形接触端面。
▪ 驱动肌腱:提供主动拉力的“肌肉”。
▪ 复合柔性部件:连接相邻指骨的“灵魂”部件。

重点就在于这个“复合柔性部件”,它是一个为实现各向异性刚度而精心设计的“三明治”:
▪ 第一/第二柔性层:采用硅胶,提供弯曲所需的弹性,并在弯曲时分别承受压缩和拉伸,产生被动的回弹力矩。这使手指在驱动力撤去后能自动伸展,节能且符合生物直觉。
▪ 中间增强层:采用超高拉伸强度、极低延展性的材料,如Vectran纤维织物或镍钛诺超弹性合金。专利特别指出,其拉伸强度需大于约895 MPa。
中间层的使命,就是像“防拉伸筋”一样,极大提升部件沿手指长轴方向的拉伸刚度,并严格禁止指骨间的横向错位、纵向分离或绕长轴的扭转。

▲手指关节处于伸展状态(左)与手指关节处于弯曲状态(右)的侧视图
同时,它又对绕横向轴的弯曲刚度则影响甚微,这是唯一被允许的运动。在肌腱拉动下,相邻指骨只能围绕一个瞬时变化的轴心,进行纯粹的滚动接触。这个轴心随着弯曲,沿两个弧形面平滑移动,完美复现了生物手指的滚动运动轨迹。
这就实现了“刚柔并济”:纵向坚如磐石,横向柔顺可弯。
专利原文也明确描述了这一机制:
“所述复合柔性构件可移动地将第一结构耦合到第二结构,使得第二结构可相对于第一结构围绕一横向轴枢转,该横向轴随第二结构枢转而沿着第一接触表面和第二接触表面移动。”
这种“强制滚动接触”的物理结构,一方面延长了部件寿命,因为滚动摩擦的磨损远低于滑动摩擦;另一方面,其产生的运动轨迹自然平滑,更接近人类手指的抓握包络。
专利也强调:
“这些拉伸范围经实验证明,可以最大化关节组件在遭受损坏前所能完成的弯曲循环次数。”
此外,材料弯曲时还会形成一个中性弯曲平面,特斯拉将所有传感器线缆的柔性部分,都嵌入在这个平面内(通常位于增强层与第二柔性层之间)。这使得线缆在关节终生反复弯曲中,几乎不承受疲劳应力,可靠性进一步提升,同时,无需在指骨侧壁开凿脆弱的线槽,节省了空间占用,保持了手指的极致纤细与流畅外观。
专利还揭示了另一个细节:不同关节的柔性部件厚度不同。从指尖的远指间关节(DIP),到中间的近指间关节(PIP),再到连接手掌的掌指关节(MCP),厚度依次递增。
我们的双手也是类似的构型,越靠近手掌的关节,驱动肌腱的力臂越长,所需承载的力矩越大。增加柔性层(特别是弹性层)厚度,能提供更大的回弹力矩和承载能力。这体现了基于真实负载的、精细化、梯度化的工程设计。
05
布线:各向异性,“静态”穿越“动态”关节
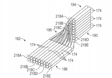
拆解完前臂、手腕、手指,还有一条贯穿一切、却最易被忽视的“生命线”——缆绳布线系统。
想象一下,你有 20 多根极细、极坚韧的缆绳,它们要从前臂的 20 多个电机出发,去往 5根手指的十几个关节。而唯一的通道,是一个像手腕一样既能左右摆(偏航)、又能上下弯(俯仰)的“双自由度万向节”。在运动过程中,会产生:
▪ 长度变化:手腕一动,缆绳路径长度必然变化。微小的长度误差就会导致手指张力失控——要么绷得太紧导致电机过载,要么太松导致手指无力、抓握失败。
▪ 运动串扰:手腕的偏航运动,可能会意外拉扯到某根手指的缆绳,导致机器人想转手腕却弯了手指。反之,用力握拳又有可能会导致手腕意外转动。
▪ 摩擦磨损:缆绳每多一个弯折,就多一个摩擦点。在高速、高频的活动中,摩擦会导致动力损耗、发热,更是缆绳疲劳断裂的根源。
传统情况通常采用“绕行”或“冗余张紧”,结果往往是增加了复杂性、降低了可靠性。特斯拉没有发明新的缆绳材料,而是选择了另一个思路:让缆绳束对关节运动“不敏感”。
概括来说,就是针对不同方向的运动,为缆绳束设计不同的最优“横截面形状”,以无限逼近“零力臂”的理想状态,从而实现机械上的运动解耦。
▪ 前臂侧(近端)布局:缆绳以“横向堆叠” 方式并排,形成一个扁平的带状束。
▪ 手部侧(远端)布局:缆绳以“竖向堆叠” 方式分层,形成一个纵向的束。

这种布局转换背后有一个关键的力学概念:力臂。
专利原文对此也做了解释:
“第一布局对控制缆线的布置可限制控制缆线相对于腕关节俯仰轴的第一力臂,第二布局对控制缆线的布置可限制控制缆线相对于腕关节偏航轴的第二力臂。”
翻译成工程语言即是:
▪ 对抗俯仰运动(上下弯):当手腕上下摆动时,旋转轴是水平的。此时,将缆绳束压扁成水平方向的扁平状,可以使整束缆绳的“质心”尽可能地贴近这条水平旋转轴。这就将导致长度变化的垂直方向力臂缩至最短。
▪ 对抗偏航运动(左右转):当手腕左右转动时,旋转轴是垂直的。此时,将缆绳束叠高成垂直方向的竖条状,同样可以使整束缆绳的“质心”尽可能地贴近这条垂直旋转轴。这就将导致长度变化的水平方向力臂缩至最短。

本质上,这是一种“各向异性”的几何设计。它让缆绳束在面临不同方向的关节运动时,自动呈现出对该运动“阻力”最小的截面形状。通过将力臂逼近于零,关节运动时缆绳的路径长度变化被降至理论最小,缆绳被牵拉或松弛的幅度微乎其微,因此,手腕运动时,几乎不会向手指传递错误的张力信号,减少了两者之间的串扰。
同时,当驱动单根手指时,拉力通过专利中精心设计的导向件(第一、第二控制缆线支撑构件)传递,其合力作用点被精心安排,亦不会对腕关节产生显著的偏转力矩。
缆线的非必要弯折数量也被最小化。每一个被消除的弯折,都意味着一个摩擦点、一个热源和一个潜在疲劳断裂点的消失,并转化为更高的传动效率和寿命。
06
小结
事实上,这五项专利的任何一项,都不应单独拆开来看,而是要放在其完整技术栈中审视。每一项专利都建立在前一项专利的基础上,它们是层层递进、紧密协同作用的关系。
其中,前臂是动力源和调度中心,其内部致动器输出的力,通过腱绳系统传递。这些腱绳穿过那个拥有中央通道的二自由度手腕,最终抵达由复合柔性关节构成的五指。
前臂侧横向堆叠的扁平缆绳束,形态完美适配于前臂中那些平行排列的线性致动器输出端,实现了高效、整洁的“插拔”式连接;手腕的初悬臂中央空间,成为缆绳从前臂(横向堆叠)过渡到手部(竖向分布)的“旋转广场”,让来自前臂电机的动力能以最小损耗直达指尖;手部侧竖向堆叠的缆绳束,则天然适合在手掌根部扇形散开,分别通往五根手指。
最终,集成于中性平面的线缆,将指尖触觉、关节角度等数据实时反馈,又回流到前臂,并进一步传输至机器人的中央处理单元,形成感知闭环。
回顾特斯拉灵巧手的技术路径:
▪ 前臂,通过集成革命(轴向串联、径向分层等),在宏观尺度解决了动力密度问题。
▪ 手腕,通过机构革命(双电机、万向节),在中观尺度实现了运动与布线的兼容。
▪ 手指,通过材料革命(复合柔性部件),在微观尺度定义了运动仿生。
▪ 布线系统,则通过几何革命(双布局与力臂最小化),在系统拓扑尺度贯穿了前三者,解决了动力与信号传输的可靠性问题。
在工程密度挑战人体空间尺度的情况下,机器人技术,已不再是单个部件的军备竞赛,而是如何以系统思维,对动力、结构、传感、控制进行全局性的重新排布与拓扑优化。
一切又回到钱学森先生那本《论系统工程》:
“系统科学……其规模和对科学的影响不亚于相对论和量子力学。”


起底智元机器人,谁在推动一个庞然大物向前

达闼科技陨落一周年:具身独角兽的消亡史

未经「AI科技评论」授权,严禁以任何方式在网页、论坛、社区进行转载!
公众号转载请先在「AI科技评论」后台留言取得授权,转载时需标注来源并插入本公众号名片。
未经「AI科技评论」授权,严禁以任何方式在网页、论坛、社区进行转载!
公众号转载请先在「AI科技评论」后台留言取得授权,转载时需标注来源并插入本公众号名片。
