为了 5G 基站散热,KMW 把 “相变均热板” 塞进天线里,这设计到底有多拼?

先看整机:散热片直接 “伸出” 天线外壳
图 1a / 图 1b 整机正面 + 背面

天线罩盖住辐射单元,顶部直接伸出一整块散热板,跟外面空气直接换热。

保留传统大面积散热鳍片,负责数字板后端散热。
传统天线只靠背面散热,热量闷在里面;KMW 直接把散热通道做到顶部外露,内热外排,彻底分开。
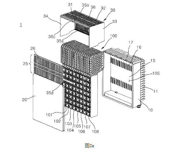
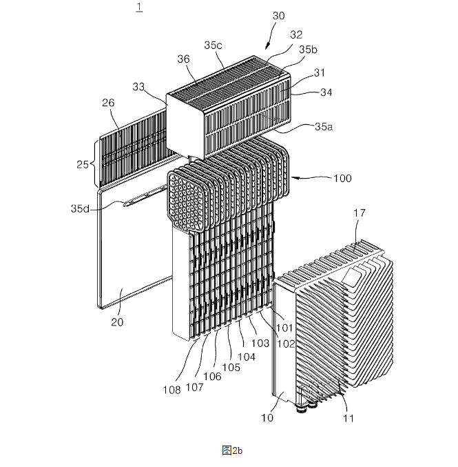
图 2a / 2b 爆炸图


顶部有引导槽:射频模块直接垂直插进去装。
天线罩带延伸板 + 通气孔:既防风防雨,又不挡散热。
手指防护板:防止人碰到高温散热面。
拆开内部:热量刚产生,就被 “吸走”
图 3 去掉外罩的内部

下半段在壳内吸热量
上半段伸出壳外散热量
图 4 单个射频模块装配

图 5 模块尾部结构

结论:热量刚产生,立刻被吸走,不留堆积。
核心结构:三明治散热,一块板管两路偏振
图 6 左右视角

图 7a / 7b 模块拆解


最中间:相变散热模块
两侧:PA 板(PA/LNA/RFIC 都在这,最热)
外侧:上下堆叠的RF 滤波器
前面:辐射单元
热路径:发热源 → PA 板 → 散热板 → 外部空气,短到不能再短。
单路单元:散热板不是实心铝,是 “均热板”
图 8 单偏振天线单元

作用:抗内部压力,防止受热鼓包变形。
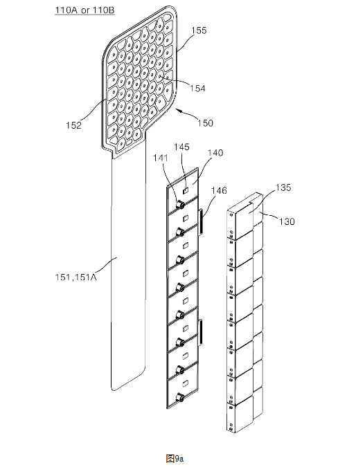
图 9a / 9b 进一步拆解


面接触 ≈ 最高效散热,比点接触、线接触强太多。
剖面看懂:内热外排,一目了然
图 10 / 11 / 12 剖面视图



内侧散热部
:在天线壳里,吸 PA 板热量
外侧散热部
:穿出壳体顶部,直接吹风散热
辐射在前、滤波在中、数字板在后、散热贯穿全程。
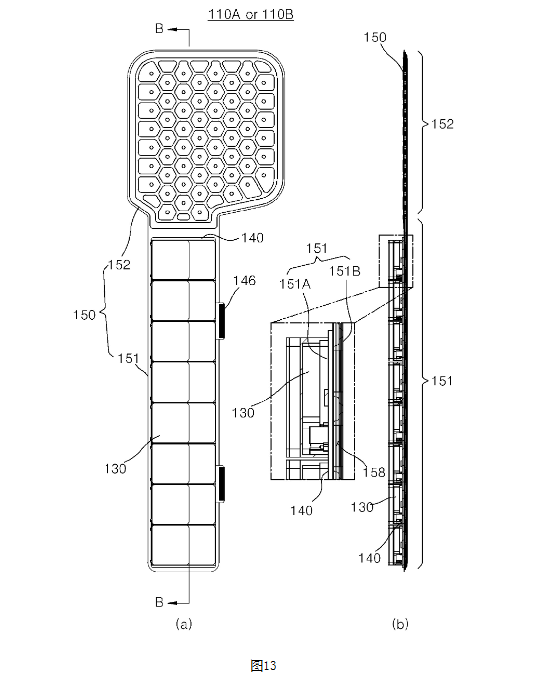
最核心:图 13 散热板内部原理(看懂这张就够)

散热板是中空密封结构,里面不是实心金属。
充注制冷剂,走相变循环:
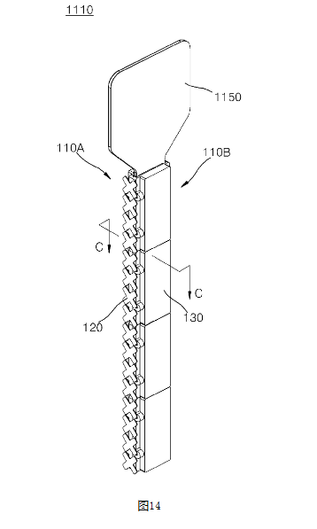
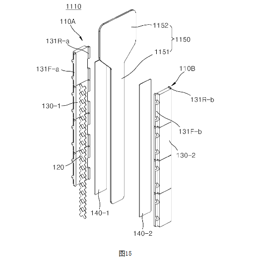
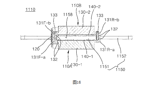
进阶方案:一块散热板,双面吸热
图 14 / 15 / 16 双面散热结构



一块散热板在中间
左右各贴一套 PA 板 + 偏振单元
螺钉锁紧,保证热接触压力
一套散热,管双路发热,空间再缩 50%
不止天线:还能用到 LED 照明里
图 17 照明装置应用

LED 发热 → 内侧吸热 → 外侧外露散热
证明这套方案通用、可复制,不局限于基站天线。
整套设计,一句话总结
灵魂一问:你觉得有必要这么 “卷” 散热吗?
有人说:传统散热够用,没必要这么复杂。
有人说:5G-A、6G 通道越来越多,功率越来越大,不这么散热,基站根本扛不住。
#射频学堂#射频基础#射频技术#无线通信#电子工程师#车载射频
版权声明
射频学堂发布的原创及转载内容,版权均归原作者所有,文中观点仅代表作者本人,射频学堂仅作知识分享与传播使用。如需转载或引用,请联系原作者获得授权。
射频学堂转载、转述网络文章时,均会注明来源与作者;无法溯源来源的文章除外。如涉及版权问题或有异议,请及时与我们联系:VX:RF_Centered。
商务合作、广告推广、转载授权及射频社群交流等事宜,可添加微信:RF_Centered,并注明合作事项。

