万万没想到!体外受精用上RFID,射频应用边界再次被打破
大家好,这里是射频学堂。

先看痛点:传统 IVF-RFID 根本不好用

1,金属环境一塌糊涂
层流罩、显微镜、金属支架到处都是,RFID 信号被干扰、反射、衰减,经常读不到、读不准。
2,标签必须对准,太麻烦
传统阅读器对朝向极其敏感,稍微偏一点就漏读,操作压力极大。
3,硬件又多又乱
为了控温还要额外加加热板,系统复杂、故障率高,不适合洁净实验室。
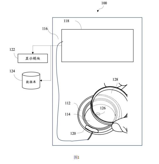
系统长什么样?(对照专利图 1)

1. 带凹槽观察区 112
2. 透明玻璃板区域 114
3. 金属层压平面 116(射频关键)
4. RFID 阅读器 118 + 集成天线 120(核心创新)
阅读器就近安装在金属平面上,天线埋在玻璃板正下方、凹槽内部,有线连接,稳定不丢包,贴片 / 微带天线,场覆盖均匀,不管标签怎么放、朝哪边,都能稳定读取
5. 数据模块
显示模块 122:实时显示标签信息
数据库 124:自动存储、全程可追溯
怎么用?5 步流程(对照专利图 2)

观察样本:在层流罩内查看带 RFID 的胚胎 / 卵母细胞
放置样本:培养皿放到透明玻璃板上
构建环境:金属层压平面形成抗干扰、洁净扫描区
天线扫描:玻璃板下方天线读取标签数据
全程追溯:无视朝向与位置,数据上屏、入库
射频角度看:它的高明之处
抗金属不是避金属,是用金属做屏蔽,用金属层压把干扰 “关在外面”,从环境层面解决 IVF 实验室最大痛点。
近场天线 + 底部布局,实现无朝向读取,天线贴得近、场均匀,彻底摆脱对准烦恼。
一体化集成,医疗设备最看重的极简可靠,没有外挂天线、没有多余线束、不用额外加热板,故障率大幅降低。
小结

#射频学堂#射频基础#射频技术#无线通信#电子工程师#医疗射频
版权声明
射频学堂发布的原创及转载内容,版权均归原作者所有,文中观点仅代表作者本人,射频学堂仅作知识分享与传播使用。如需转载或引用,请联系原作者获得授权。
射频学堂转载、转述网络文章时,均会注明来源与作者;无法溯源来源的文章除外。如涉及版权问题或有异议,请及时与我们联系:VX:RF_Centered。
商务合作、广告推广、转载授权及射频社群交流等事宜,可添加微信:RF_Centered,并注明合作事项。

