两年前,华为Mate 60系列横空出世,首次实现手机直连卫星通话,直接震惊了整个通信行业。在此之前,卫星通信终端始终绕不开一个“累赘”——高增益圆极化天线阵列,最典型的就是四臂螺旋天线。哪怕是后来电信推出的卫星手机,也依然带着一根显眼的外置螺旋天线,像拖着条“小辫子”,既不美观,也不方便携带。可华为Mate 60偏要打破常规:卫星天线被完全隐形,悄无声息地藏进了手机金属中框里。当时我们反复讨论一个问题:手机内部空间那么小、发射功率那么低,怎么可能实现几千公里外的卫星通话?高功率会让电池快速耗尽,高增益又意味着天线体积要加大,根本塞不进手机里。直到后来,我们读到华为天线专家孙利滨的攻关故事,才恍然大悟:这背后根本不是简单的技术优化,而是一场颠覆整个行业的天线革命。孙利滨在分享中曾提到:“Mate 50完成卫星短消息后,团队想更进一步做卫星语音通话。可评估后发现,天线增益要比短消息再提升9~10 dB,这几乎是‘不可能完成的任务’。当时很多人建议做外置天线壳,简单又稳妥,但我们不信邪,决定用圆极化手机中框天线打破常规。”受导师王汉阳教授共模/差模理论启发,孙利滨提出用X模式天线在手机上实现圆极化,仅用3个月就做出了Demo,在外场成功拨通卫星电话,在场的运营商当场感叹:“这是历史性一刻!”而就在昨天(2026年4月24日),华为这项隐形卫星天线的核心专利终于正式公布——公布号CN 121922858 A,发明人正是师传波、孙利滨、薛亮、侯猛团队。非常大的可能是,这篇专利,就是Mate 60、Mate 70系列能“剪掉小辫子”,把卫星通话装进普通手机的核心技术底牌。今天,我们就结合专利原文,用最易懂的方式,拆解华为到底是怎么做到的。
先搞懂:行业死穴难破,华为剑走偏锋
卫星通信有一个硬性要求:必须用圆极化。因为星载天线为了对抗电离层法拉第旋转,几乎全部采用圆极化,普通线极化天线根本无法稳定通信。但传统手机天线,始终绕不开两个死穴,这也是行业内长期无法突破的瓶颈:- 圆极化增益极低,一般不到2 dBic,根本收不到、发不出几千公里外的微弱卫星信号;
- 带宽窄、波束偏,很难同时覆盖天通、北斗、低轨卫星等多套卫星系统的频段。
华为的这篇专利开篇就写得非常直白:“旨在解决天线的圆极化信号增益一般较低的问题,提高电子设备与卫星之间的通信效果。”更关键的是,华为给出的解法,没有走“堆天线、加外置结构”的老路,而是一套极简又高效的“主天线+寄生天线耦合协同”系统方案:主天线:负责产生圆极化激励,是整个信号的“源头”;寄生天线:负责同极化增益叠加,相当于给信号“放大”;核心亮点:两者共用手机金属中框,完全隐形、不占额外空间,完美适配手机的轻薄设计。核心架构:把天线藏进手机中框,每一处都藏着巧思
专利中的“电子设备”,主要指手机、平板、折叠屏等消费级产品,其核心结构非常清晰,我们拆解成3个部分,一看就懂:1. 中框三边框布局:选对位置,事半功倍
华为没有盲目布局天线,而是精准利用手机中框的先天优势:第三边框:手机顶部边框,天然朝向天空,是卫星通信的最优位置,主天线就藏在这里。2. 地板系统:稳定的“信号地基”
由主板接地层、屏幕金属膜、电池接地层、中框共同构成稳定的参考地——这是天线高效辐射的基础,相当于给卫星信号的收发搭建了一个“稳定平台”,避免信号杂乱、衰减。3. 两级天线系统:主副配合,增益翻倍
这是整个专利的核心,也是华为“隐形天线”的关键,分为主天线和寄生天线阵列,两者协同工作,缺一不可。主天线:T型双谐振圆极化源(信号源头)
主天线完全集成在顶部第三边框,结构非常精简,但功能极强,主要由4部分组成:第一枝节:靠近第一边框,带有馈电点,负责信号输入;匹配电路+调谐组件:精准控制谐振频率,适配不同卫星频段。它的核心工作原理是“双谐振模式”,通过匹配电路同时激励出两个谐振:差模(DM模式):电流同向,负责产生左旋圆极化,适配卫星的圆极化需求;共模(CM模式):电流反向,负责拓宽带宽、调节波束方向,解决“带宽窄、波束偏”的问题。模式A:频率差≥300 MHz→超宽频,可同时覆盖天通、北斗、低轨卫星等多套系统;模式B:频率差≤100 MHz→单频高增益,集中增强某一卫星频段的信号,保证通信稳定。值得注意的是,主天线本身就能产生弱圆极化,但它真正的威力,是激活寄生天线,实现增益叠加——这也是华为最巧妙的设计。寄生天线:增益倍增的“秘密武器”
寄生天线阵列装在手机左右两侧的第一、二边框,最绝的地方在于:它不接任何射频线,完全靠耦合从主天线获取能量,既不占空间,又能大幅提升增益。为了实现“增益倍增”,华为给寄生天线定了3个强制设计原则(专利明确要求):- 极化方向必须与主谐振完全相同(同为屏前/屏后左旋);
- 谐振频率必须与主谐振几乎一致(偏差<50 MHz)。
这样一来,两个同方向、同频率的左旋圆极化波在空间叠加,增益直接翻倍,轻松突破“增益低”的行业死穴。同时,专利里还设计了6类标准化子天线,全部带缝隙、接地枝节和可调谐器件,经过严格仿真与实测优化,分为两类:- 近距离子天线(≤30 mm,最优15 mm±5 mm):包括第一、二、六子天线,采用屏前左旋圆极化,手机正面朝上时增益最高;
- 远距离子天线(45–60 mm):包括第三、四、五子天线,采用屏后左旋圆极化,哪怕手机背面朝上,也能稳定连星。
更厉害的是,每路子天线都配有电容/电感调谐器件,能实时把寄生谐振“锁”在主谐振上,保证同频同相;再加上开关矩阵,可智能切换增益与波束:可多路并发,进一步叠加增益,且波束仰角稳定在30°–60°,完美对准卫星,不管怎么握手机,都不影响通信。理论底层:共模/差模,才是核心突破
孙利滨在攻关故事里提到的共模/差模理论,正是这篇专利的核心底层逻辑,也是华为能实现“内置高增益圆极化”的关键。专利中对共模(CM)和差模(DM)有完整阐述,用最通俗的话解释就是:线共模(CM):电流反向、电场同向,适合做宽带,解决“带宽窄”的问题;线差模(DM):电流同向、电场反向,适合做圆极化,解决“信号适配卫星”的问题。华为的设计逻辑非常清晰,不是简单堆结构,而是从电磁模式层面重新设计天线:用差模(DM)生成圆极化基底,满足卫星通信的核心需求;用共模(CM)拓展带宽、调节波束方向,解决行业瓶颈;再用寄生天线把“弱圆极化”修成高纯圆极化,实现高增益。这种设计,彻底打破了传统天线“要么增益高、要么体积大”的困境,也印证了一句话:真正的技术突破,往往藏在底层理论的创新里。频段覆盖:一套天线,通吃所有民用卫星系统
华为的这套隐形天线系统,不仅解决了“隐形”和“高增益”的问题,还实现了“多频段兼容”——一套天线,就能覆盖目前几乎所有民用卫星通信频段,实用性拉满:天通一号:Tx 1980–2010 MHz,Rx 2170–2200 MHz(民用卫星通信的核心频段);北斗卫星通信:Tx 1610–1626.5 MHz,Rx 2483.5–2500 MHz;低轨卫星:Tx 1668–1675 MHz,Rx 1518–1525 MHz。这也意味着,搭载这套天线的手机,不管是在偏远地区用天通一号通话,还是用北斗发消息,都能稳定连接,真正实现“无死角通信”。为什么这篇专利,含金量极高?
我们再回头看孙利滨团队的攻关约束,就知道这份专利有多难得——当时团队面临的要求,每一条都是行业难题:- 增益必须提升9–10 dB(行业内认为“不可能完成”);
- 不能做外置天线(要符合消费级手机的美观和便携需求);
而CN 121922858 A这篇专利,完美解决了所有约束,每一个设计都精准命中需求:- 不用外置天线:全部利用手机金属中框实现,完全隐形;
- 增益大幅提升:主天线+寄生天线同极化叠加,轻松突破9–10 dB的增益要求;
- 圆极化纯正:左旋圆极化,完美匹配卫星的圆极化需求;
- 带宽足够宽:双谐振+多子天线设计,覆盖多套卫星系统;
- 姿态更友好:屏前/屏后双波束切换,不管怎么握手机,都能稳定连星。
可以说,这篇专利就是华为手机卫星通话的底层天线架构,是从“卫星短消息”到“卫星语音通话”,那9–10 dB增益差距的最终答案。总结:华为的三项革命,改写行业格局
华为CN 121922858 A专利的公布,本质上是完成了手机卫星天线的三项革命,彻底改写了消费级卫星通信的行业格局:架构革命:主天线+耦合寄生天线,实现同极化增益叠加,打破“增益与体积不可兼得”的困境;形态革命:彻底抛弃外置螺旋天线,把卫星天线藏进手机中框,让消费级手机实现“隐形卫星通信”;理论革命:首次将共模/差模模式用到手机边框,实现高纯度内置圆极化,为行业提供了全新设计思路。从此,手机不再需要拖着“小辫子”,就能稳定拨通36000公里外的高轨卫星;从此,“不在服务区”的困境,正在被华为一点点打破。这也难怪,当年孙利滨团队的Demo拨通卫星电话那一刻,运营商会由衷感叹:“太棒了,今天是历史性的一刻!”这里是射频学堂,我们下期继续拆解更多硬核射频与天线技术,带你看懂科技背后的底层逻辑。附:专利图纸标号说明(对照查看更清晰)
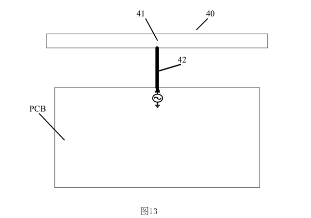
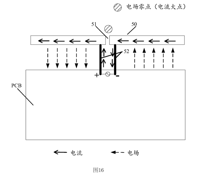
所有图纸共用一套标号,先记牢这些核心标识,对照专利图就能快速看懂结构:一、核心部件标号
20:第一天线(主天线,T型),布在第三边框130;210:主天线第一枝节、220:主天线第二枝节、230:主天线接地结构;240:第一调谐组件(调第一谐振)、250:第二调谐组件(调第二谐振)、260:馈电点;30:第二天线(寄生天线组),布在第一、二边框;
131:第一接地边框、132:第三接地边框、111:第二接地边框、121:第四接地边框;二、关键图纸解读

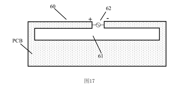
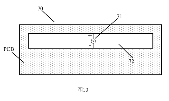
图3:主天线+第一子天线(屏前左旋圆极化),d≤30mm(最优15±5mm),增益最高,实现同方向圆极化叠加;图4:主天线+第二子天线(屏前左旋),d≤30mm,保证极化方向一致;图5:主天线+第三子天线,d≥30mm,依然保持同极化;图6、7:多子天线组合(第一+第二+第三子天线),按需增强圆极化,实现增益最大化;图8:主天线+第四子天线(屏后左旋),d≤30mm,适配手机背面朝上场景;图9:主天线+第五子天线,d≥30mm(优选45–60mm),增益>2dBic;图10:主天线+第六子天线(屏后左旋),d≤30mm;图11:屏后多子天线组合(第四+第五+第六子天线),强化屏后方向增益;图12:频段切换示范——谐振差≥300MHz开屏前子天线,≤100MHz开屏后子天线,互补覆盖更稳;图13–20:共模/差模模式(线模式、槽模式各有CM和DM),核心理论支撑。三、共模/差模核心区分
线差模(DM):电流同向、电场反向,适合做圆极化(主天线第一谐振用此);注释:文章图示来自已公开专利,仅用于分享学习,专利权问下载,请点击“阅读原文”。
#射频学堂#射频基础#射频技术#无线通信#电子工程师#车载射频

版权声明
射频学堂发布的原创及转载内容,版权均归原作者所有,文中观点仅代表作者本人,射频学堂仅作知识分享与传播使用。如需转载或引用,请联系原作者获得授权。
射频学堂转载、转述网络文章时,均会注明来源与作者;无法溯源来源的文章除外。如涉及版权问题或有异议,请及时与我们联系:VX:RF_Centered。
商务合作、广告推广、转载授权及射频社群交流等事宜,可添加微信:RF_Centered,并注明合作事项。