T2PAK:适用于汽车和工业高压应用的顶部散热封装
简介
安森美(onsemi)为强化其先进封装的电源产品组合,推出了两款面向汽车与工业高压(HV)应用的顶部散热封装——T2PAK和BPAK。这两款封装专为应对严苛工况而设计,与通过印刷
电路板
(PCB)散热的传统底部散热封装(如D2PAK和TOLL)不同,T2PAK与BPAK采用顶部散热结构,通过直接接触外部
散热器
实现高效热传导,显著提升散热性能。
其中,T2PAK凭借顶部散热与无引线设计的双重优势,不仅消除了传统长引线,还构建出比D2PAK或TO封装更紧凑的电流回路,从而大幅降低杂散电感。这一优化带来了更优异的开关特性、更低的电压过冲以及更出色的电磁兼容性(EMC),使其成为高效率、高密度
电源设计
的理想选择。
此次技术突破有效提升了功率密度,更好地满足了高性能应用日益增长的需求。安森美首批采用该新型封装的产品包括九款基于Elite-SiC平台的碳化硅(SiC)MOSFET。

表1. 安森美T2PAK车规级认证产品

表2. 安森美T2PAK工业级认证产品
本应用笔记面向从事车载充电机(OBC)、高压DC/DC转换器及工业开关电源(SMPS)设计的硬件,重点介绍T2PAK封装的贴装及其热性能的高效利用。内容涵盖以下方面:T2PAK封装详解——全面说明封装结构与关键规格参数;焊接注意事项——阐述实现可靠电气连接的关键焊接注意事项;湿度敏感等级(MSL)要求——明确器件在处理与存储过程中的防潮防护规范;器件贴装指南——提供器件贴装的最佳实践建议。
在换流回路设计建议部分中,探讨了T2PAK器件的换流回路设计要点。热性能分析部分则分析了其热性能,这对于确保器件在工作条件下的可靠性至关重要,并在文档结尾进行了总结。
附图方面,图1a与图1b分别展示了封装的底部与顶部视图,图2为引脚配置图。其中在图1b中,各引脚定义如下:引脚1为栅极,引脚2为Kelvin引脚,引脚3至7为源极,漏极引脚则标记为D。

图1.T2PAK封装视图

图2.SiC MOSFET T2PAK引脚定义

图3.T2PAK封装机械轮廓图
T2PAK封装详解
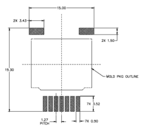
T2PAK封装轮廓详见图3所示。其中,图3a与图3b分别为封装顶视图与侧视图;细节A进一步展示了引脚尺寸,对应侧视图(图3c)、正视图(图3d)与后视图(图3e);底视图见图3f。所有相关尺寸标注于图3g和图3h。封装主体尺寸约为11.80mm×14.00mm×3.63mm(D×E×A),含引脚的整体平面尺寸为18.50mm×14mm(H×H1)。
T2PAK与D2PAK(TO-263)均为高功率表面贴装封装,适用于紧凑型PCB布局下的高效热管理。二者电气焊盘占位相似,但热结构设计存在明显区别:D2PAK采用底部散热,依靠外露漏极焊盘将热量传导至PCB铜层,并通过过孔传导至内部或背面的铜层;而T2PAK则通过集成通孔散热引脚实现顶部散热,可直接连接外部散热器或金属外壳。这种设计提供了更高效、可控的散热机制,尤其适合PCB自身散热受限或具备强制风冷的应用场景。
上述结构差异带来了可量化的热性能提升。以32mΩ器件为例,T2PAK的结壳热阻为0.7℃/W,优于D2PAK的0.75℃/W。在12mΩ这类低阻值、高电流器件中,优势更为明显:T2PAK热阻为0.3℃/W,而对应D2PAK为0.35℃/W。这主要得益于T2PAK可将热量直接导向散热器,从而突破PCB的散热瓶颈。因此,该封装尤其适用于对散热要求严苛或需更高热裕量的场合,如汽车功率模块、工业驱动器及高效率DC-DC转换器。

图4.推荐的PCB焊盘布局

图5.无铅焊料加热曲线[2]
图4所示为T2PAK推荐的PCB焊盘布局。在封装顶视图中,引脚定义如下:右下角为引脚1(栅极),引脚2为开尔文源极(用于驱动参考电位),引脚3至7为源极连接。漏极则通过延伸的大型漏极焊片实现电气连接,该焊片与封装顶部中央的外露漏极焊盘相连,共同构成主散热区域。
焊接注意事项
表面贴装电路板的布局与尺寸设计,是确保与半导体封装形成可靠焊接界面的关键。精确匹配的焊盘几何形状有助于在回流焊接过程中实现封装的自对准效果。T2PAK封装的推荐焊盘布局如图4所示。该器件引脚采用无铅镀锡处理,在PCB焊盘上具备优异的可焊性。
为确保焊接过程的热性能和机械可靠性,T2PAK器件必须在回流前进行充分预热。预热能有效减少热冲击、降低封装应力,这对发热量大的功率半导体尤为重要。根据安森美焊接指南[2],预热阶段与峰值焊接阶段的温差不应超过100℃,过渡期间的最大温度梯度需限制在5℃/s。此外,峰值温度不应超过260℃,且焊接温度超过245℃的时间不得超过10秒。建议焊接后进行渐进式冷却,以防止因快速热胀冷缩导致的潜在机械故障。这些工艺对保持T2PAK封装器件的结点完整性及长期可靠性至关重要。
当焊料熔点高于器件额定温度。整个器件被加热至高温时,若未能在短时间内完成焊接,可能导致器件损坏。因此,应严格遵守以下工艺规范以最大限度降低热应力对器件的影响:
• 焊接前应对器件进行预热。
• 预热与焊接时的温差应控制在100℃以内。未经预热直接焊接会造成过度的热冲击和应力,导致器件损坏。
• 预热及焊接过程中,引脚与封装温度不得超过260℃(器件最高额定温度)。采用红外加热回流焊工艺时,温差上限为10℃。
• 焊接温度超过245℃的持续时间不超过10秒。
• 从预热转入焊接时,最大温度上升梯度应不超过5℃/s。
T2PAK封装专为通过回流焊工艺将芯片贴装到PCB上而设计,其热性能符合IPC/JEDEC J-STD-020E [1]标准所规定的回流焊温度曲线要求。详细的推荐回流焊温度曲线可参考安森美应用笔记SOLDERRM [2](见图5)。
T2PAK封装兼容锡铅(Sn-Pb)和无铅(Pb-Free)焊接工艺,但两种工艺需采用不同的热温度曲线。Sn-Pb焊接采用熔点较低的共晶合金焊料(183℃),而Pb-Free焊接(通常使用SAC305合金)则需要更高的液相线温度(217℃)及高达245℃的峰值回流温度。根据焊接指南,两种工艺均建议预热温度范围(Tsmin至Tsmax)为:Sn-Pb为100-150℃,无铅焊料为150-200℃,预热时间为60-120秒。升温速率不得超过3℃/s,液相线以上停留时间应维持在60-150秒。T2PAK封装的峰值本体温度需达245℃,并在峰值温度5℃范围内保持30秒。降温速率应控制在6℃/s,从环境温度到峰值温度的总耗时不得超过6分钟。合理预热与温度控制至关重要,尤其对无铅工艺而言,可最大限度降低热应力并确保焊点可靠性。

表3. 根据[2]的分类回流曲线
表3列出了回流焊工艺各阶段的推荐参数值。尽管实际温度曲线可能因设备类型和工艺条件而异,该曲线可作为可靠的初始参考,并应根据具体应用进行调整——包括PCB的尺寸与厚度、元件密度与类型、所用焊膏特性以及衬底材料等因素。制定焊接温度曲线时,建议首先采用焊膏制造商提供的基准曲线,并确保所有装配元件的温度与时间限制均得到满足。目前主流的回流焊设备包括红外(IR)加热炉、强制对流炉和气相焊接系统,其中强制对流炉凭借其优异的热均匀性,能均匀加热整个PCB板,使元件受热更一致,特别适用于功率器件的高可靠性焊接。在双面PCB装配中,T2PAK器件应安排最后焊接,因其底部焊点在二次回流过程中会再次熔融,易导致移位或脱落。对于返修操作,建议采用局部加热方式进行定点回流,避免整板二次回流[2]。
以下说明适用于表3[2]:
• 所有温度均指封装中心温度,测量位置为封装本体在回流焊接过程中朝上的表面(例如live bug,引脚朝下)。若元件采用非标准live bug方向(即dead bug,引脚朝上)进行回流,其TP温度与“live bug”方向TP值的偏差应在±2K范围内,且仍需满足TC温度要求;否则需调整回流曲线以确保符合TC规范。为精确测量实际封装本体峰值温度,请参照JEP140[3]推荐的热电偶使用规范。
• 本文档中的回流温度曲线仅用于分类或预处理,并不直接规定实际PCB装配的回流工艺参数。实际的板级装配回流曲线应根据具体工艺需求和
电路板
设计来制定,且不得超出表3中所列的参数限值。例如,若TC=260℃。时间tP=30秒,则对供应商和用户分别具有如下要求:
- 对供应商而言:峰值温度不低于260℃,且高于255℃的时间应不少于30秒。
- 对用户而言:峰值温度不得超过260℃,且高于255℃的时间不得超过30秒。
• 测试负载中的所有元件均须满足分类温度曲线要求。
• 依据J-STD-020、JESD22-A112(已废止)、IPC-SM-786(已废止)历史版本流程或标准进行湿度敏感性分级的表面贴装器件,若无变更等级或提高峰值温度等级的需求,无需按当前修订版重新分级。
• 表面贴装器件:不建议采用波峰焊工艺。
湿度敏感等级
根据JEDEC J-STD-033[4]和J-STD-020标准,T2PAK产品被归类为湿度敏感等级1(MSL1)。因此,在标准环境条件下,该产品无需干燥包装且无明确的保质期限制,从而简化了存储和操作要求。
器件贴装
为实现最佳性能,顶部散热器件除需遵循指定的焊接安装温度要求外,还需与冷板或散热器建立高效的热连接。结壳热阻(RθJC)取决于芯片尺寸、厚度、裸片粘贴和铜引线框架等因素,已在数据手册中严格规定并明确标注,但整体散热性能仍高度依赖于连接外露焊盘与散热器的堆叠结构。实现高效热连接的关键在于界面材料的选择,通常称为热界面材料(Thermal Interface Material, TIM)。选用合适的TIM,并实施精确且可重复的涂覆工艺,是优化散热性能、确保器件级和板级可靠性以及增强电气绝缘安全性的核心要素。为提出有效解决方案并展示界面评估流程,本研究已对三种可选方案进行了探讨。

图6.液态间隙填充材料
大多数液态间隙填充材料(Liquid Gap Fillers,见图6)具有相对较低的粘度,能够很好地贴合外露焊盘与散热器之间的接触面。此类TIM材料的最终厚度和形态主要由封装与散热器之间施加的装配压力决定(由PCB施加的压力),并可通过螺钉或弹簧针等夹持系统调节散热器与PCB之间的距离来进行精确控制。在采用液态间隙填充材料时,需综合考虑以下几个关键因素:
1. 导热界面材料(TIM)的特性
• 评估和验证TIM材料的隔热性能至关重要。间隙填充材料是封装散热焊盘(高电压)与散热器(接地)之间唯一的绝缘介质。根据材料不同,为承受相应电压所需的最小厚度通常在500µm至1mm之间。
• 市售液态间隙填充材料的导热系数范围为1.6W/(m·K)至9W/(m·K),安森美建议采用的测试值应高于5W/(m·K)。
2. 最佳涂覆量
• 为确保最佳绝缘性能而过度涂覆TIM,会以牺牲热性能为代价。更多细节请参见热仿真和热测试部分所提供的数据。
3. 固化过程中的收缩
• 需要注意的是,间隙填充材料在必要的固化过程中可能会发生收缩。
平衡这些方面对于实现所需的电气绝缘,同时保持最佳的热性能至关重要。
预成型间隙填充垫(Pre-Formed Gap Filler Pad)提供了另一种解决方案。在此方案中,厚度通过设计得到保证。然而,整体装配成本可能会增加,并且控制散热器与PCB之间距离的关键环节可能更具挑战性:预切割的导热垫虽然能保证厚度一致,但由于其预设的形状,无法像液态材料那样与周边结构紧密贴合。

图7.预成型间隙填充垫

图8.陶瓷绝缘体
可在叠层结构中引入如氧化铝(Al2O3)或氮化铝(AlN)等材料,以提供稳定可靠的绝缘性能,尤其当与厚度为250–500µm的较薄液态间隙填充材料结合使用时效果更佳。尽管这种热叠层结构通常被视为最可靠的绝缘方案,但与方案1相比,其成本显著增加,而在导热性能方面并未带来实质性提升。
换流回路设计建议
在硬件设计中,换流回路是一个关键考量因素,尤其在高速开关应用中更为重要。减小该回路中的寄生电感可直接降低开关损耗,并提升系统整体效率。
顶部散热封装(如T2PAK)在此方面相比底部散热封装具有明显优势。其热设计允许更灵活的电气布线,从而实现更紧凑、更优化的换流回路。

图9.硬件设计中的换流回路建议
如图9所示,通过将两个T2PAK器件并排布置,即可实现半桥拓扑结构:
• DC+连接到器件1的漏极;
• 器件1的源极连接到器件2的漏极;
• 器件2的源极再连接至DC−。
为构成完整的换流回路,回流路径可通过PCB底层布线,并与顶层安装的器件平行走线。通过过孔将顶层与底层互连,从而形成紧凑的回路结构。这种布局有助于实现磁通量抵消,显著降低寄生电感。在双脉冲测试(Double Pulse Test, DPT)中,该布局实现了仅9nH的回路电感,充分验证了其有效性。
相比之下,底部散热封装依赖PCB底层铜箔进行散热,这限制了底层电气布线。此限制使得难以构建紧凑的换流回路,往往导致走线路径更长、寄生电感更高。由于底层必须专用于散热——通常需通过大量热过孔和大面积覆铜实现——将回流路径紧邻电源回路布线变得不切实际。这会削弱磁通量抵消效果,增加回路电感,从而对开关性能产生不利影响。
热性能
总体而言,顶部散热封装相比传统表面贴装器件(SMD)具有更优的热性能,因为它能够直接从外露的金属焊盘(MOSFET的漏极、IGBT的集电极、整流器的阴极)导出热量,避免了底部散热封装中PCB材料造成的热阻。如前所述,要充分发挥其散热优势,必须精心设计功率器件所处的散热系统。
T2PAK封装凭借其顶部散热特性,通过直接接触
散热器
或冷板,突破了TO-263-7等底部散热表面贴装封装中PCB热传导的局限性。基于转换器的研究[7]表明,在器件顶部集成铜散热片可将TIM热阻从0.85K/W降至0.05K/W,显著降低器件温度,并使功率处理能力几乎翻倍。同样,针对碳化硅(SiC)表面贴装器件的研究[8]也证明,用实心铜柱替代传统导热过孔可将散热能力从13.2W提升至36.4W,凸显了消除散热瓶颈的重要性。
尽管这些方案能有效降低PCB热阻,但因需增加额外的制造工序而成本较高。相比之下,顶面散热的T2PAK封装可直接通过器件顶部高效散热,无需额外的高成本制造工艺。这些研究结果进一步验证了T2PAK散热设计的有效性:通过优化TIM压缩量、机械夹紧结构及选配均热器,即可在紧凑型高功率应用中实现低结壳热阻(Rth(j-f))和高效散热。
测试设置与方法
被测器件(DUT)为一款NVT2016N065M3S碳化硅(SiC)MOSFET,通过T-Global TG-A6200[6]导热垫片直接安装在冷板上。该导热材料的导热系数为6.2W/m·K,厚度为1mm,可确保器件与冷板之间高效传热。
为实现精确测量结温,MOSFET封装经激光去盖处理,暴露出内部的硅裸芯。随后,将热电偶直接固定在裸芯表面以实时采集温度数据。传感器安装完成后,使用MG Chemicals 832HT-A[5]高温环氧树脂重新密封封装,以保持器件的机械完整性和热特性。

图10.实验测试装置
• 图10a展示了K型热电偶连接至裸露芯片表面的情形。
• 图10b显示了被测器件在冷板上的完整装配结构,包括导热界面材料层。
精确施加扭矩至关重要,因为它直接影响接触压力,进而影响界面热阻。实验中施加了0.3Nm的扭矩,以实现高效的热传导。
冷板采用50/50的水-乙二醇(WEG)混合液进行主动冷却,循环流速为6.0升/分钟,并保持恒定温度20℃。为在器件内部产生热量,对SiC MOSFET的体二极管施加正向偏压。通过20A电流源使电流流经二极管,并测量对应的压降(VSD)。电流与电压的乘积即为功耗,通过分析裸芯至冷板的温升数据,据此计算结-壳热阻。
仪器与测量:
• 电流源 :Keysight E36234(20A)
• 电压与温度测量:Keithley DMM6500
• 温度传感器:TEWA TTS-5KC3-BZ NTC热敏电阻(5kΩ,B=3977K),因其高灵敏度与电气隔离特性而选用
测量结果
T2PAK封装器件的裸芯面积为11.9mm²,展现出优异的热性能。在扭矩设定为0.3Nm时,结到壳的热阻(Rth(jf))测得为1.06K/W,公差为±0.08K/W。当扭矩增加至0.35Nm时,热阻降低至0.93K/W,公差同样为±0.08K/W。这表明更高的扭矩设置可增大热接触,从而降低热阻。
这些结果突显了机械夹紧力与热阻之间的强相关性。扭矩从0.3Nm增至0.35Nm,使Rth(jf)改善幅度达12%,主要归因于TIM材料被更充分压缩,以及热接触阻力降低。
尽管TG-A6200 TIM材料在受压时能保持稳定的导热系数,但其厚度会随压缩显著减小。这种厚度的降低缩短了器件与冷板之间的热传导路径,直接提升了热传递效率。研究证实,即使扭矩仅小幅增加,也能带来热性能的显著改善。
T2PAK封装为高功率应用提供了极具竞争力的散热解决方案。尽管其裸芯面积小于BPAK封装,却展现出更优异的热性能。这得益于更大的顶部散热接触面积以及对高夹紧力的良好兼容性,使其特别适用于高热负荷场景。在搭配高性能导热界面材料(TIM)并精确控制装配扭矩的条件下,T2PAK可稳定实现较低的结到环境热阻(Rth(j-f)),成为散热受限设计中的理想选择。本研究进一步验证了机械结构设计、界面材料选型与测量精度在实现最佳散热性能中的关键作用。
参考文献
[1]IPC/JEDEC J-STD-020E,《非密封表面贴装器件湿度/回流敏感性分类联合行业标准》,2014年12月。
[2]《焊接与贴装技术参考手册》,SOLDERRM−D.PDF (onsemi.com),访问日期:2024年9月
[3]JEDEC出版物JEP140,《半导体封装的珠状热电偶温度测量》,2002年6月(重新确认:2006年6月、2011年9月、2015年1月)。
[4]IPC/JEDEC J-STD-0333D,《湿度、回流及工艺敏感器件的操作、包装、运输和使用联合工业标准》,2018年4月。
[5]高温环氧树脂封装灌封材料832-HT数据手册,2025年3月tds−832ht−2parts.pdf
[6]TG-A620超柔性导热垫数据手册,TG−A6200_UK.pdf
[7]K.Siebke, T.Schobre, N. Langmaack和R.Mallwitz,“具有扩展散热能力的高功率密度GaN交错式双向升压转换器”,PCIM Europe 2017; 德国纽伦堡,2017年,第1-7页。
[8]B.Strothmann, T.Piepenbrock, F.Schafmeister和J.Boecker,“碳化硅功率SMD器件散热策略及其在不同应用中的运用”,PCIM Europe digital days 2020;德国,2020年,第1-7页。
