第五款国产TYK2抑制剂,启动III期临床!

3月18日,中国药物临床试验登记与信息公示平台最新信息显示,浙江文达医药已正式登记启动WD-890片治疗中重度斑块状银屑病的III期临床研究。摩熵医药数据显示,此前已有4款国产TYK2抑制剂进入III期临床,WD-890片成为第5款迈入关键III期阶段的国产TYK2抑制剂,标志着该靶点在国内的研发竞争进入新的关键阶段。

截图来源:中国药物临床试验登记与信息公示平台
01
II期结果积极,III期拟入组375人验证疗效与安全性
WD-890片是一种口服、高选择性、变构TYK2(JH2)抑制剂,由浙江文达医药自主研发,主要针对银屑病、红斑狼疮等自身免疫性疾病。
2025年12月,文达医药已公布其II期临床研究的积极结果。该研究由中国医学科学院皮肤病医院陆前进教授牵头,在全国多家临床中心开展,共纳入143名患者,设置WD-890片低、中、高三个剂量组及安慰剂对照组,初步验证了其疗效趋势与安全性特征。

基于II期积极数据,本次启动的III期研究为一项多中心、随机、双盲、安慰剂对照的关键临床试验,旨在进一步系统评估WD-890片治疗中重度斑块状银屑病的有效性和安全性。研究计划在国内入组375例患者,主要疗效终点设定为第16周的PASI 75应答率和第16周的sPGA 0/1应答率,符合该领域国际注册临床的主流标准。
02
全球仅一款上市,国内外研发同处III期竞速阶段
TYK2是JAK激酶家族成员之一,在银屑病等自身免疫性疾病的炎症信号通路中起关键作用,已成为全球新药研发的重要靶点。
摩熵医药数据库显示,目前全球仅有百时美施贵宝的氘可来昔替尼一款TYK2抑制剂获批上市,其适应症已覆盖斑块状银屑病、脓疱性银屑病、红皮病型银屑病及银屑病关节炎。2025年,该药全球销售额达2.91亿美元,同比增长18.29%,显示出该靶点的治疗潜力与市场前景。

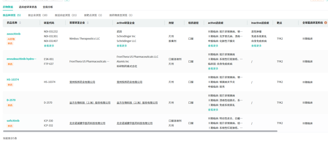
在研发管线方面,浙江文达医药的WD-890片是第5款进入III期临床的国产TYK2抑制剂。此前,已有常州恒邦药业的HS-10374、诺诚健华的soficitinib、益方生物的D-2570等国内企业,以及武田的Zasocitinib和Alumis的Envudeucitinib等跨国公司的同类项目进入III期研究。国内外企业在该靶点的研发上已形成“1款上市、多款在研” 的同步竞速格局。

截图来源:全球药物研发数据库(查数据.找摩熵)
随着浙江文达医药的WD-890片迈入III期临床,国产TYK2抑制剂的研发竞争更趋激烈。在BMS已率先实现商业化、国内外多款同类药物齐头并进的背景下,该靶点赛道已从早期研发快速进入临床验证与未来商业化竞争并行的新阶段。
对于进入关键临床的文达医药及其他国内企业而言,除了确证疗效与安全性,未来在临床开发效率、适应症拓展策略以及商业化布局上的差异化能力,将成为决定其市场地位的关键。随着更多TYK2抑制剂在未来2-3年内有望陆续获批,我国自身免疫疾病患者的治疗选择或将迎来新一轮的丰富与升级。
END
本文为原创文章,转载请留言获取授权
近期更多摩熵咨询热门报告
识别下方二维码领取

联系我们,体验摩熵医药更多专业服务 | ||||
会议 合作 | 报告 定制 | 数据库 咨询 | 数据 定制 | 媒体 合作 |








