大涨1643.56%重磅降脂药,华海药业入局!

3月24日,CDE官网显示,浙江华海药业按4类仿制药申报的二十碳五烯酸乙酯软胶囊上市申请获得受理,正式加入这一高速增长的降脂药市场竞争。摩熵医药数据显示,该品种在2025年全终端医院市场销售额同比增长达1643.56%,成为心血管治疗领域备受瞩目的潜力品种。

截图来源:CDE官网
01
暴涨1643.56%的降脂药,市场潜力可期
二十碳五烯酸乙酯软胶囊是一种血脂调节剂,具有两大明确适应症:一是用于降低重度高甘油三酯血症患者的甘油三酯水平;二是与他汀类药物联用,用于已确诊心血管疾病或伴有多种危险因素的糖尿病患者,以进一步降低心血管事件风险。
该品种近年来呈现爆发式增长。摩熵医药数据显示,该品种在2025年前三季度全终端医院市场的销售额已突破2000万元,同比增长高达1643.56%。这种快速增长反映了临床对高甘油三酯血症管理和心血管事件风险控制的强烈需求,以及该药物在联合治疗中日益重要的地位。

截图来源:全终端医院销售数据库(查数据.找摩熵)
02
超25家药企竞逐,华海药业加速心血管管线布局
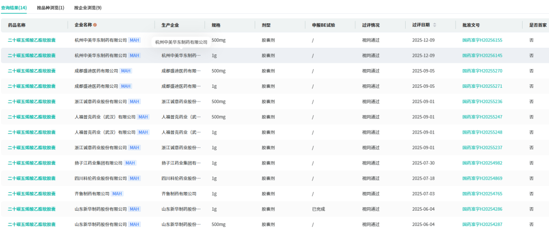
目前,国内已有12家企业获得二十碳五烯酸乙酯软胶囊的生产批文,其中9家国内企业已通过一致性评价。四川国为制药于2023年1月拿下国内首仿,随后山东新华制药等企业也相继获批。

截图来源:过评药品汇总数据库(点击小程序查看更多)
在仿制药申报方面,竞争已进入白热化阶段。除华海药业外,还有安徽悦博生物制药、华北制药、北京斯利安药业、大连美创药业等超过25家企业提交了上市申请,均在审评审批中。这意味着未来该品种将面临激烈的市场竞争,同时也体现了企业对心血管治疗市场的战略重视。

截图来源:中国药品审评数据库(点击小程序查看更多)
此次申报是华海药业在心血管领域的重要布局。今年以来,该公司已有左卡尼汀注射液、马来酸曲美布汀片、马来酸氟伏沙明片等4个品种获批并过评。截至目前,华海药业提交了40个品种的新注册仿制申请,均在审评审批中,显示出其持续强化产品管线、拓展治疗领域的战略决心。
华海药业进军暴涨1643.56%的降脂药市场,不仅是对心血管治疗高潜力赛道的战略布局,也体现了企业在仿制药开发领域的快速响应能力。虽然面临超过25家企业的激烈竞争,但凭借华海药业在原料药-制剂一体化方面的成本优势和质量控制能力,若能成功获批,仍有望在这一快速扩容的市场中占据一席之地。随着心血管疾病治疗需求的持续增长和联合用药理念的深入,该品种的市场前景值得期待,而华海药业的入局也将进一步推动该药物的可及性和临床普及。
END
本文为原创文章,转载请留言获取授权
近期更多摩熵咨询热门报告
识别下方二维码领取

联系我们,体验摩熵医药更多专业服务 | ||||
会议 合作 | 报告 定制 | 数据库 咨询 | 数据 定制 | 媒体 合作 |








