净利狂飙1041%!三生国健最新战略版图曝光,1类新药点燃千亿市场,自免领域加速“封王”

精彩内容
日前,三生国健已发布2025年业绩快报,实现营收41.99亿元(+251.81%),归母净利润29.39亿元(+317.09%),扣非净利润28.05亿元(+1041.01%)。作为国内抗体药领域先行者,三生国健秉持“创新引领、持续创新”的发展理念,聚焦自免、肿瘤等潜力赛道,通过“自主研发+BD合作”双轮驱动模式,逐步实现优势产品的市场深耕,以及创新管线的全球化布局。未来,公司将继续依托抗体药核心技术平台,以“源头创新+差异化研发”为指引,朝着全球领先生物制药企业的目标迈进。
净利狂飙1041%!创新引领、全渠道布局筑牢发展根基
日前,三生国健发布2025年业绩快报,实现营收41.99亿元,同比增长251.81%;归母净利润29.39亿元,同比增长317.09%;扣非净利润28.05亿元,同比增长1041.01%。公司营收及净利均创下历史新高。
三生国健2025年度主要财务数据和指标(单位:万元)

来源:公司业绩快报
三生国健2025年业绩的跨越式增长并非偶然爆发,而是公司长期战略布局的集中兑现、重磅全球合作带来的阶段性突破与核心产品商业化的内生增长,及逐步形成的“一次性收益+持续性增长”双重发展格局。其中,公司在报告期内与辉瑞达成重要合作,并收到其就707项目支付的授权许可首付款约28.9亿元。该项收入不仅成为三生国健业绩飙涨的重要推手,更刷新了中国双抗对外授权首付款交易纪录,也标志着其创新能力获得跨国药企的认可,实现从“技术跟随”到“全球创新”的战略性突破。
核心产品的商业化深耕,为三生国健业绩增长奠定坚实的内生基础。公司持续深化“院内+院外”全渠道覆盖策略,院内市场扎根城市大型医院的同时,加速向县域与基层医疗机构渗透,不断扩大科室覆盖范围,探索自身免疫等领域长期用药管理模式,让核心产品触达更多患者群体;院外市场积极布局全国连锁药店,覆盖核心城市社区终端,为安沐奇塔单抗等创新药进入药店销售、实现院外市场放量提供完备的渠道与服务保障。
三生国健重点布局的CDMO业务增长显著。公司通过向下游开放闲置产能,提供药物研发到生产的全流程外包服务,创造出不受单一药品生命周期影响的经常性收入,与授权业务、核心产品销售形成互补,有效优化了公司的盈利结构。
重磅品种矩阵成型,构建千亿市场竞争壁垒
作为专注于抗体药物的创新型生物医药企业,三生国健历经二十余年的研发与产业积累,已培育出多款具有里程碑意义的核心产品,产品覆盖自身免疫、肿瘤、移植免疫三大核心治疗领域,实现从“单品突破”到“产品矩阵”的发展跨越,在细分赛道构筑起坚实的竞争壁垒。
三生国健的基石产品益赛普(注射用重组人Ⅱ型肿瘤坏死因子受体-抗体融合蛋白)是中国首个获批的全人源抗体类药物,也是中国风湿病领域首个肿瘤坏死因子(TNF-α)抑制剂。米内网数据显示,该药自2006年上市以来,凭借稳定的临床疗效和良好的安全性,市场份额长期占据国内自免领域领先地位,覆盖类风湿关节炎、强直性脊柱炎、银屑病等多项适应症。目前益赛普已纳入国家医保目录,成为自免疾病治疗的主流选择。
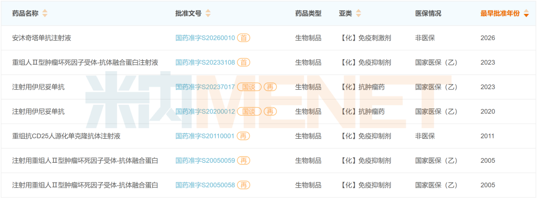
健尼哌(重组抗CD25人源化单克隆抗体注射液)是国内唯一获批上市的人源化抗CD25单抗,用于器官移植后的急性排斥反应预防,2025年在中国三大终端六大市场(统计范围详见本文末)销售额增速达66.87%。赛普汀(注射用伊尼妥单抗)是中国首个自主研发的创新抗HER2单抗,现已成为HER2阳性乳腺癌的核心疗法之一。益赛拓(安沐奇塔单抗注射液)是我国首个维持期仅需8周给药一次的国产IL-17A抑制剂,其对标产品诺华的司库奇尤单抗2025年全球销售额达66.68亿美元。
三生国健已获批上市的抗体药

来源:米内网中国上市药品(MID)数据库
在中国三大终端六大市场,抗体类药物2022-2025年销售额均保持两位数的同比增速,分别达18.27%、21.88%、14.59%和18.38%;2025年首度突破1000亿元大关,从治疗大类看,抗肿瘤和免疫调节剂市场份额领跑,达到约83%。
近年来中国三大终端六大市场抗体类药物销售趋势(单位:万元)

来源:米内网格局数据库
聚焦自免、肿瘤等核心领域,“自研+BD”双轮驱动发展
成立至今,三生国健始终将研发放在发展首位,以“源头创新+差异化研发”为核心导向,围绕自身免疫、肿瘤两大核心领域构建差异化的研发管线,通过“自主研发+BD合作”双轮驱动,不断提升技术壁垒,优化研发资源配置,为公司的长远发展持续赋能。
近年来,三生国健研发投入保持占营收30%以上的高比例,为管线研发提供了坚实的资金保障。年报数据显示,公司2024年研发投入达5.41亿元,同比增长72.06%;2025年前三季度研发投入约3.68亿元,同比增长3.87%。
自研产品方面,三生国健正积极推进30多项在研生物药新药项目,包括10余个处于获批临床及以上阶段的新品。其中,2款1类新药重组抗IL-1β人源化单克隆抗体注射液(痛风性关节炎)和重组抗IL-4Rα人源化单克隆抗体注射液(特应性皮炎)、1款2.2类新药贝伐珠单抗眼内注射溶液(年龄相关性黄斑变性)已报产在审,有望短期内成为公司新的业绩增长点;1类新药重组抗IL-5人源化单抗注射液(哮喘)步入Ⅲ期临床,未来上市后将丰富公司抗体药产品矩阵;1类新药SSGJ-627注射液(溃疡性结肠炎)和重组抗BDCA2人源化单克隆抗体注射液(系统性红斑狼疮)均为国产首个进入临床试验的同类产品,并实现中美双报,展现出强劲的全球化研发实力......三生国健研发管线的数量和推进进度均处国内生物药企业第一梯队,并形成“上市一代、临床一代、研发一代”的良性管线布局。
三生国健核心在研新药情况

来源:米内网综合数据库
在自主研发的基础上,三生国健还通过全球BD合作实现研发资源的优化配置,依托强大的产业化能力,完成从研发到生产的一体化布局,为管线产品的快速商业化奠定基础。比如:2025年5月,公司与辉瑞的合作不仅获得了巨额研发资金,更借助辉瑞的全球临床开发和商业化能力,加速SSGJ-707(PD-1/VEGF双抗)的全球化进程。
同时,三生国健果断剥离非核心研发项目,减少资金分散投入,将研发资源聚焦于自身免疫、肿瘤等核心领域的差异化布局上,进一步提升研发与生产效率。据弗若斯特沙利文预测,到2030年,全球自身免疫性疾病药物市场规模有望达1760亿美元,中国市场增速或高达20%;抗肿瘤药物市场有望达3913亿美元,占总药物市场的18.8%。在2025年全球畅销药TOP10中,自身免疫性疾病药物和抗肿瘤药物合计占据5个席位。从管线兑现情况及市场发展趋势来看,三生国健的这场“豪赌”无疑是押对了!
结语
从首款全人源抗体药的诞生到创纪录的全球授权合作,三生国健在穿越行业周期后,逐步实现了从蓄势到崛起的关键转变。站在新起点,随着更多创新产品陆续落地和价值兑现,公司有望持续释放增长潜力,迎来更加广阔的发展空间,我们拭目以待!
资料来源:米内网数据库、公司官网及年报等
注:米内网《中国三大终端六大市场药品竞争格局》,统计范围:城市公立医院和县级公立医院、城市社区中心和乡镇卫生院、城市实体药店和网上药店,不含民营医院、私人诊所、村卫生室,不含县乡村药店;上述销售额以产品在终端的平均零售价计算。
免责声明:本文仅作医药信息传播分享,并不构成投资或决策建议。
投稿及报料请发邮件到872470254@qq.com
稿件要求详询米内微信首页菜单栏
商务及内容合作可联系QQ:412539092
【分享、点赞、在看】点一点不失联哦
