以岭药业1类新药来袭,剑指百亿市场!

3月26日,CDE官网公示显示,石家庄以岭药业申报的1.1类中药新药芪龙定喘片正式获批临床。该药拟定功能主治为“益气活血通络、化痰止咳平喘”,主要针对慢性阻塞性肺疾病(简称“慢阻肺”)稳定期中,心肺气虚、痰瘀阻滞的病症患者。

截图来源:CDE官网
01
抢占百亿呼吸市场蓝海,以岭龙头地位稳固
芪龙定喘片是以岭药业2026年收获的首个中药创新药临床批件。该药于1月8日首次提交申请,仅用两个多月即获批准临床,进展迅速。
呼吸系统疾病中成药市场空间广阔,且保持稳定增长。摩熵医药数据显示,呼吸系统疾病中成药在2024年全终端医院市场的销售额已突破700亿元,同比增长2.92%。2025年前三季度销售额也超过500亿元,市场需求旺盛。

截图来源:全终端医院销售数据库(查数据.找摩熵)
在企业竞争格局中,以岭药业已建立起显著优势。2025年前三季度,其呼吸系统药物在全终端医院市场销售额突破18亿元,稳居行业前四。尤其在针对“心肺气虚、痰瘀阻滞证”的创新药赛道,国内目前尚无同类产品获批上市,芪龙定喘片的临床推进,意味着以岭药业正在抢占一片全新的蓝海。

截图来源:全终端医院销售数据库(查数据.找摩熵)
02
拿下19款呼吸系统中成药,12款1类新药获批临床
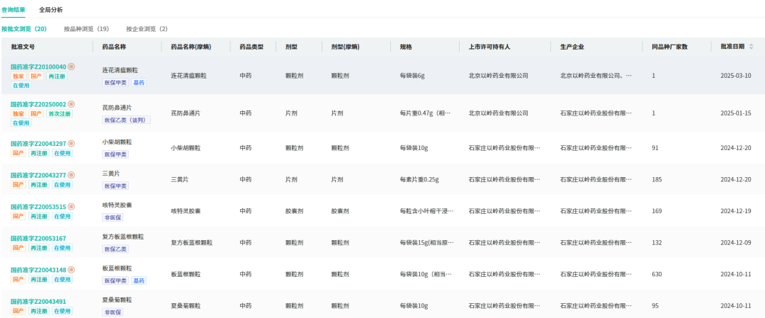
呼吸系统疾病用药是以岭药业长期深耕的核心领域之一,其市场地位建立在丰富的产品矩阵之上。目前公司拥有19款呼吸系统中成药的生产批文,其中有连花清瘟颗粒、芪防鼻通片、连花清瘟胶囊、连花清咳片、连花清瘟片5款独家品种。

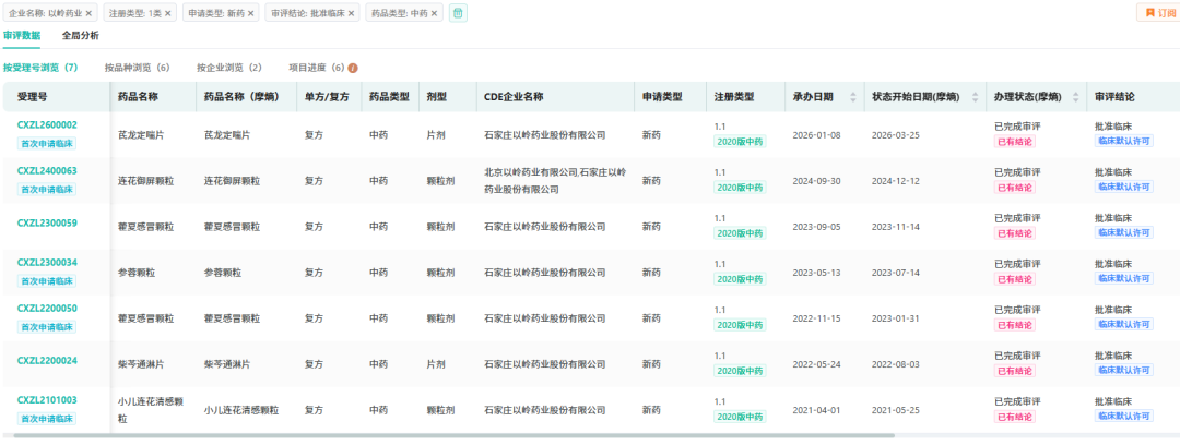
芪龙定喘片的获批临床,是以岭药业创新研发引擎持续发力的一个缩影。摩熵医药数据显示,在研新药方面,目前以岭药业有12款1类新药获批临床,其中1类中药新药有6款获批临床,创新管线储备丰厚。

截图来源:中国药品审评数据库(点击小程序查看更多)
除了芪龙定喘片,以岭药业在呼吸系统领域的创新药研发已形成梯队化布局,多款产品正快速推进:
藿夏感冒颗粒(中药1.1类新药):已进入III期临床,用于治疗普通感冒(风邪袭表,湿蕴中阻证),距离上市申报最近。
连花御屏颗粒(中药1.1类新药):正处于II期临床阶段,用于治疗普通感冒气虚证,研发进展顺利。
连花清咳颗粒(中药2.2类新药):已完成II期临床,适应症为儿童急性支气管炎(痰热壅肺证),后续临床值得期待。
这三款在研新药均属于呼吸系统中成药,覆盖了从感冒到支气管炎等不同细分适应症,与芪龙定喘片共同构成了以岭药业在呼吸赛道未来增长的创新产品矩阵。
从凭借成熟的连花清瘟系列产品稳居市场头部,到如今在中药创新药领域持续加大投入、多点开花,以岭药业“成熟产品保业绩,创新管线拓未来”的双轨发展战略日益清晰。
此次芪龙定喘片快速获批临床,不仅展现了公司在核心赛道的研发执行力,也预示着其中药创新管线正逐步步入收获期。面对超过700亿的呼吸系统中成药市场,以岭药业正通过扎实的研发积淀与前瞻性的管线布局,不断巩固其行业龙头地位,并在满足临床未竟需求、推动中医药现代化发展方面持续创造价值。
END
本文为原创文章,转载请留言获取授权
近期更多摩熵咨询热门报告
识别下方二维码领取

联系我们,体验摩熵医药更多专业服务 | ||||
会议 合作 | 报告 定制 | 数据库 咨询 | 数据 定制 | 媒体 合作 |






