石家庄四药发力!拿下一款首仿,同日两大品种获批

3月27日,国家药监局(NMPA)官网显示,石家庄四药提交的乳酸钠林格冲洗液(3000ml)和布美他尼注射液(2ml:1mg)两款3类仿制药同日获批上市,并视同通过一致性评价。其中,乳酸钠林格冲洗液(3000ml)为国内首仿+首家过评,标志着企业在冲洗液领域取得重要突破。

截图来源:NMPA
01
攻克大规格冲洗液,拿下乳酸钠林格冲洗液国内首仿
乳酸钠林格冲洗液适用于允许使用无菌电解质溶液的一般冲洗需求。此次石家庄四药获批的3000ml大规格产品,填补了市场空白,满足了临床对于大容量冲洗液的需求。该产品采用3类仿制药路径申报,获批即视同通过一致性评价,体现了其与原研药在质量和疗效上的一致性。
目前,除石家庄四药外,尚有上海长征富民金山制药、海南爱科制药、安徽丰原药业等4家企业提交了该品种的3类仿制申请,均处于审评审批阶段。石家庄四药凭借先发优势,在此赛道已占据领先身位。

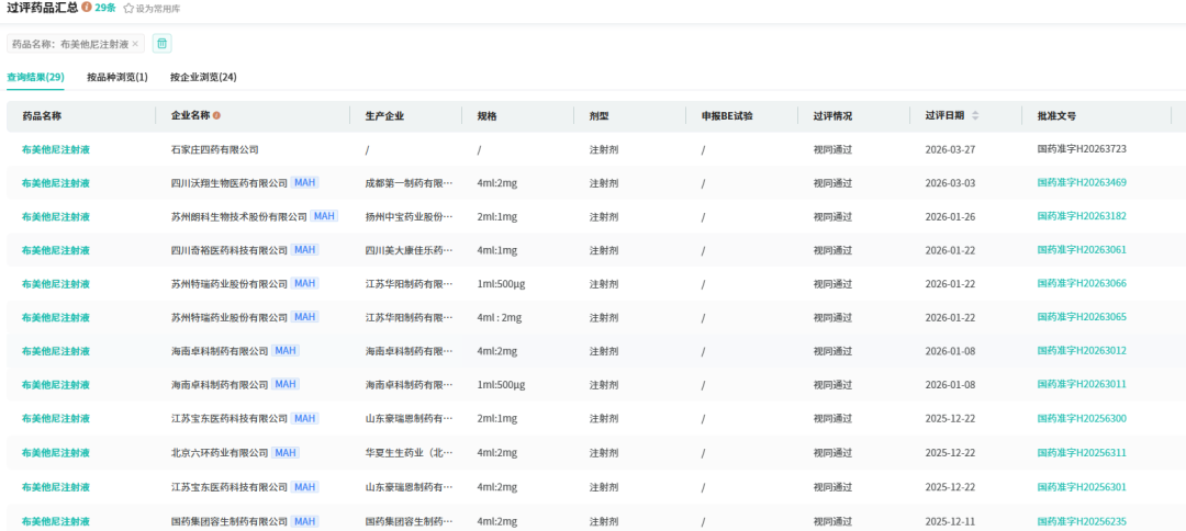
截图来源:中国药品审评数据库(更多点击小程序查看)
此次乳酸钠林格冲洗液的成功获批,将与集团已有的生理氯化钠溶液、平衡盐溶液、甘氨酸冲洗液、山梨醇甘露醇冲洗剂等产品形成链式发展格局,进一步丰富和拓展了其在冲洗剂领域多元化、系列化的产品体系,显著增强了市场竞争力。
02
拓展利尿剂产品线,布美他尼注射液获批入局
同日获批的布美他尼注射液是一款高效能利尿剂,临床上广泛用于治疗水肿性疾病(如充血性心力衰竭、肝硬化、肾脏疾病等)、高血压、预防急性肾功能衰竭、高钾血症及高钙血症等。其上市为临床提供了又一重要的治疗选择。
摩熵医药数据显示,该品种在2025年全终端医院市场的销售额超过1亿元,市场容量可观。从竞争格局看,2025年桂林南药以67.23%的市场份额占据院内市场榜首。石家庄四药的入局,将为该市场带来新的竞争者,有望重塑市场格局。


截至目前,石家庄四药(含子公司)有超170款品种获批并过评。摩熵医药数据显示,今年以来,截至目前,今年已有8款仿制药获批并过评,其中乳酸钠林格冲洗液、盐酸多沙普仑注射液、脂溶性维生素注射液(Ⅱ)3款为首家过评品种。
此次两款产品同日获批,特别是乳酸钠林格冲洗液(3000ml)首仿的取得,彰显了石家庄四药以临床需求为导向,在冲洗液特色领域的深度布局和研发实力。布美他尼注射液的加入则进一步丰富了其治疗性药品管线。在集采常态化和市场竞争加剧的背景下,持续、高效的产品梯队建设正成为企业稳健发展的核心驱动力。
END
本文为原创文章,转载请留言获取授权
近期更多摩熵咨询热门报告
识别下方二维码领取

联系我们,体验摩熵医药更多专业服务 | ||||
会议 合作 | 报告 定制 | 数据库 咨询 | 数据 定制 | 媒体 合作 |








