这家中药龙头大丰收!净利润猛涨352%,70多个独家产品亮眼,5款新药、5个新品来袭

精彩内容
近日,中药龙头企业太极集团发布了2025年业绩,营业收入稳坐100亿元阵营,净利润猛涨352.38%,集团的呼吸系统用药、消化及代谢用药均大卖超10亿元。集团手握70多个独家产品,稳居4000亿中成药市场TOP5集团(二级)高位。2025年集团的研发投入超过2.76亿元,目前有5款新药和5个仿制药新品蓄势待发,未来可期。
净利润猛涨352%,两类药品大卖超过10亿
太极集团以中西成药制造为核心业务,拥有13家制药厂及20多家医药商业公司,是目前国内医药产业链最为完整的大型企业集团之一。
2025年集团实现营业收入105亿元,其中医药工业实现销售收入52亿元,中药材资源板块实现销售收入11.8亿元,大健康及国际业务实现销售收入1.5亿元。集团2025年净利润同比增长了352.38%,超过1.2亿元,得益于集团的主业经营保持稳定,以及处置了闲置资产、子公司破产清算、政府补助等。
表1:2025年太极集团各类药物的营收情况(单位:亿元)

来源:公司年报,米内网制表
太极集团聚焦消化代谢用药、呼吸抗生素用药、心脑血管用药、麻精抗肿瘤用药、大健康产品“4+1”重点领域,2025年集团的呼吸系统用药和消化及代谢用药的营业收入分别高达16.55亿元、14.87亿元,是集团业绩的定海神针,而神经系统用药和心脑血管用药的毛利率均超过60%,潜力不容小觑。
手握70多个独家产品,稳居4000亿市场TOP5集团
米内网数据显示,目前太极集团拥有中成药和化学药制剂超过700个(按现有批文统计,不含原料药),其中独家产品占70多个,在医药行业中名列前茅。
表2:太极集团的独家产品情况(按现有批文统计)

注:按集团统计
来源:米内网中国上市药品(MID)数据库
在中国三大终端六大市场(统计范围见文末),太极集团在2024年首次挺进了4000亿中成药市场TOP5集团(二级),2025年继续保持领军优势,市场份额则首次升至2.19%。太极集团的独家中成药有58个,其中5个在2025年大卖超过了1亿元。
急支糖浆是止咳祛痰平喘用药市场TOP4产品,2025年在中国三大终端六大市场的销售额超过了15亿元,从销售渠道来看,城市实体药店的占比高达56.75%,近几年该产品在城市公立医院的占比快速攀升,2025年涨至12.71%。急支颗粒是太极集团在止咳祛痰平喘用药市场的另一款独家中成药,2025年增长了39.60%,销售额首次突破1亿元。
图1:急支颗粒的销售情况(单位:万元)

来源:米内网格局数据库
通天口服液是头痛药(偏头痛)市场TOP2产品,2025年增长了18.36%,销售额首次升至6.9亿元以上,从销售渠道来看,城市公立医院的占比为39.01%,城市社区中心的占比为18.58%,县级公立医院近几年的占比逐步提升,2025年升至17.39%。
图2:通天口服液的销售情况(单位:万元)

来源:米内网格局数据库
鼻窦炎口服液是鼻炎用药市场TOP2产品,2025年增长了18.81%,销售额首次突破5亿元,从销售渠道来看,城市公立医院和县级公立医院的占比稳步提升,分别升至34.92%、16.19%,而城市实体药店的占比则一路下滑至26.68%。
图3:鼻窦炎口服液的销售情况(单位:万元)

来源:米内网格局数据库
小金片是抗肿瘤药市场TOP11产品,2025年销售额为2.2亿元,从销售渠道来看,城市公立医院和城市社区中心为两大主战场,分别占了44.95%、30.76%,县级公立医院的占比近几年逐步提升,2025年首次达到了11.16%。
此外,集团的沉香化气片是健胃消食类市场TOP12产品,归芪生血颗粒是补气补血类其它用药市场TOP11产品,嫦娥加丽丸是妇女更年期用药市场TOP12产品,双苓止泻口服液是儿科止泻药市场TOP20产品。
集团有2个独家化药在2025年销售额超过1亿元,洛芬待因缓释片和盐酸吗啡缓释片均为止痛药,2025年销售额分别达到4.4亿元、2.2亿元。
研发投入2.76亿,5款重磅新药、5个新品在路上
近几年,太极集团在新产品开发与技术积累方面延续投入,不仅提升了产品竞争力,也为未来市场拓展和产品差异化布局奠定了基础。集团聚焦“4+1”重点领域、中药大品种二次开发及中药创新药开发,不断提升中药全产业链的信息化及智能化水平,太极集团在年报中提到,2025年研发投入超过2.76亿元,占集团医药工业板块营业收入比例为5.05%。
图4:2026年至今太极集团申报的新药情况

来源:米内网中国申报进度(MED)数据库
今年1月,太极集团提交了中药2.2类新药双苓止泻颗粒的临床申请,该产品为集团已上市的独家中成药双苓止泻口服液的改良新药,用于湿热内蕴,脾虚失健所致的小儿腹泻,可伴有发热、腹痛、口渴、尿少。
今年3月,太极集团的DSC158A片申报临床,该产品是集团布局的首款化药1类新药。
表3:太极集团部分临床进展较快的新药

来源:公司年报
中药1.1类新药咽喉宁口服液用于治疗急性咽炎,处方由山豆根、龙葵、射干等五味药材组成,临床数据表明该新药具有良好的抗炎、止痛、止痒效果。米内网数据显示,咽喉宁口服液已于2025年3月启动了急性咽炎的II期临床,并于同年4月完成了首例受试者入组。
司美格鲁肽注射液2025年在中国三大终端六大市场的销售额高达77.8亿元,目前仅有诺和诺德获批进口。截至目前,太极集团暂无生物药获批,司美格鲁肽注射液是集团进度最快的生物药3.3类新药,该产品“成人2型糖尿病患者的血糖控制以及降低伴有心血管疾病的2型糖尿病成人患者的主要心血管不良事件风险”的I期临床已于2025年10月启动。
盐酸吗啡缓释片是太极集团的独家产品,已获批上市的适应症为用于晚期癌症病人镇痛,24小时盐酸吗啡缓释片为该产品的改良新药,用于其他镇痛药无效的,需要每天、连续不断、长期阿片类镇痛治疗的疼痛。
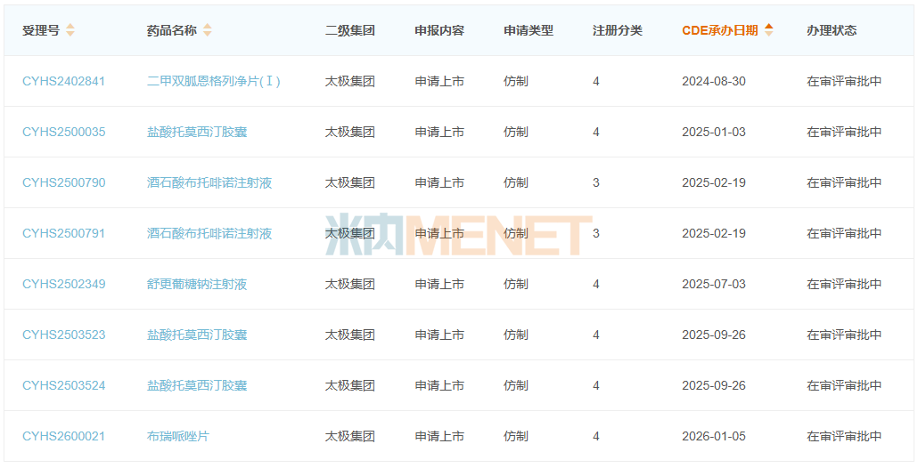
图5:2024年至今太极集团报产在审的仿制药新品

来源:米内网中国申报进度(MED)数据库
2024年至今,太极集团还有5个仿制药新品报产在审,涉及糖尿病用药、精神兴奋药、止痛药等5个热门亚类市场,其中二甲双胍恩格列净片(I)有望成为集团首个口服复方降糖药,米内网预计将在今年Q2获批,意义重大。
一致性评价方面,截至2026年3月30日,太极集团(含子公司)过评/视同过评的产品达24个。
资料来源:公司年报、米内网数据库
注:米内网《中国三大终端六大市场药品竞争格局》,统计范围:城市公立医院和县级公立医院、城市社区中心和乡镇卫生院、城市实体药店和网上药店,不含民营医院、私人诊所、村卫生室,不含县乡村药店;上述销售额以产品在终端的平均零售价计算。如有疏漏,欢迎指正!
免责声明:本文仅作医药信息传播分享,并不构成投资或决策建议。
投稿及报料请发邮件到872470254@qq.com
稿件要求详询米内微信首页菜单栏
商务及内容合作可联系QQ:412539092
【分享、点赞、在看】点一点不失联哦
