7亿+抗肿瘤注射剂,又一家药企入局!

4月3日,国家药监局药品审评中心(CDE)官网显示,辰欣药业提交的卡铂注射液以仿制4类报产获受理,正式入局这一市场规模超7亿元的抗肿瘤注射剂赛道。

截图来源:CDE官网
01
市场规模超7亿,齐鲁制药主导市场
卡铂注射为第二代铂类抗肿瘤药,主要用于小细胞肺癌、卵巢癌、睾丸肿瘤、头颈部癌及恶性淋巴瘤等实体瘤的治疗,在子宫颈癌、膀胱癌及非小细胞肺癌等适应症中也具有较好疗效。作为临床常用的铂类化疗药物,卡铂在医院终端市场始终保持稳定的需求规模。

截图来源:全终端医院销售数据库(查数据.找摩熵)
根据摩熵医药数据,卡铂注射液在2025年全终端医院市场销售额已超过7亿元,是抗肿瘤化疗领域的重要品种之一。目前,齐鲁制药在该市场中占据绝对优势,市场份额高达74.16%,其他已获批企业包括北京六环药业、华夏生生药业(北京)、上海创诺制药等共8家。
02
市场竞争加剧,多家企业布局抢仿
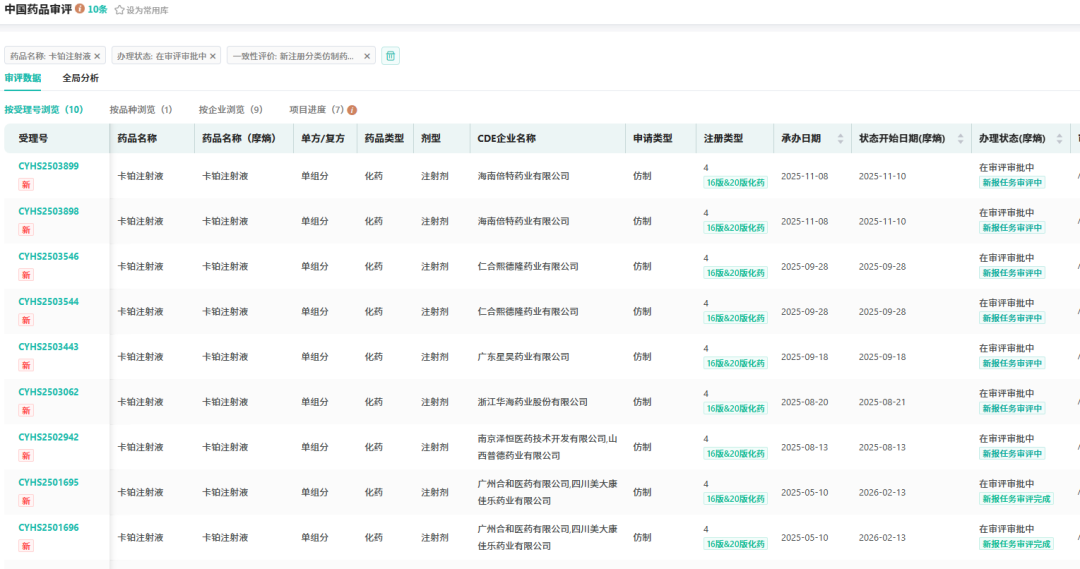
截至目前,除已获批的8家企业外,还有海南倍特药业、浙江华海药业、广东星昊药业等9家企业已提交卡铂注射液的上市申请,正处于审评审批阶段。

截图来源:中国药品审评数据库(更多点击小程序查看)
此次辰欣药业以仿制4类报产获受理,标志着又一家规模药企加入该品种的竞争行列,未来市场格局或将面临重塑。
03
辰欣药业2026年申报提速,多领域管线拓展
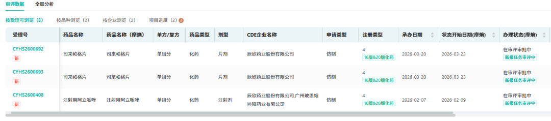
2026年以来,辰欣药业在仿制药申报方面节奏明显加快。截至目前,公司已有2款产品提交了上市申请,均在审评审批中,涵盖神经系统药物、血液和造血系统药物领域。

截图来源:中国药品审评数据库(更多点击小程序查看)
此外,今年,公司有醋酸钠林格注射液、卡铂注射液两款产品已获CDE受理,显示出公司在大容量注射剂与抗肿瘤药领域的双向布局。
卡铂作为临床基础化疗药物,市场需求稳定且规模可观。辰欣药业此次入局,不仅丰富了自身在抗肿瘤领域的产品管线,也体现了其在大品种仿制药领域的战略布局。在带量采购常态化背景下,更多企业的加入将推动该品种价格趋于合理,有利于临床用药可及性的提升,同时也对企业生产成本与质量控制提出了更高要求。未来,该市场的竞争将更趋激烈,拥有原料药-制剂一体化能力的企业或将在竞争中占据优势。
END
本文为原创文章,转载请留言获取授权
近期更多摩熵咨询热门报告
识别下方二维码领取

联系我们,体验摩熵医药更多专业服务 | ||||
会议 合作 | 报告 定制 | 数据库 咨询 | 数据 定制 | 媒体 合作 |








