两大明星药违规,药企遭4年禁入国采!

一日之内,两大药品列入违规名单,国家药品集采的监管铁拳再次落下,这一次,矛头直指“断供”红线。
4月3日,上海阳光采购网发布公告,因未按协议满足供应,北京阜康仁的盐酸多巴胺注射液和Hetero Labs的达格列净片被取消中选资格。并将两家企业被列入“违规名单”,暂停参与国家集采申报资格长达四年,直至2030年4月2日。

截图来源:上海阳光医药采购网
这并非孤立事件。就在前一天,另有两家药企因生产质量“严重缺陷”,其美索巴莫注射液中选资格被取消,并遭18个月禁入。
接连的重拳昭示着一个明确信号:集采规则已从“价低者得”的竞价时代,全面进入“量价同质同责”的履约深水区。未能扛起保供稳质责任的企业,面临的将是市场出清与长期禁赛。
01
触及“断供”红线,四年禁入国采
本次处罚的核心在于“契约精神”的失守。根据公告,北京阜康仁与印度药企Hetero Labs均“未能按集中带量采购协议供应约定采购量”,即便经约谈督促仍无法满足临床需求。
联合采购办公室的裁决迅速而严厉:不仅取消其中选资格,更将两家企业列入“违规名单”,禁止其参与国家集采直至2030年4月——这意味长达四年的市场禁入。
罚单落下的同时,替补机制已高速启动。阜康仁留下的盐酸多巴胺注射液市场,由备选企业即刻接管;Hetero Labs的达格列净片份额,则由医疗机构在其他中选企业中重新分配。规则并未因个体违约而失灵,反而在第一时间展示了系统的稳定与程序的成熟——临床供应未受影响,但失信者必须出局。
02
急救药替补上位,2亿+市场格局生变
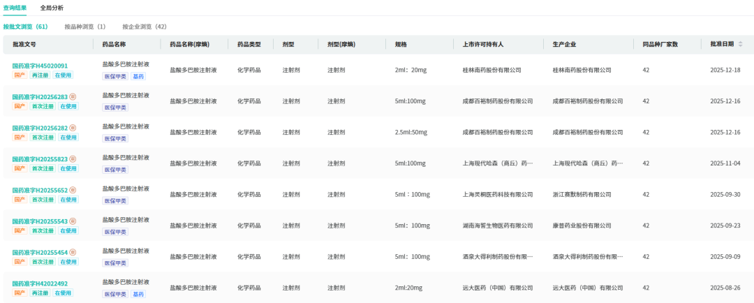
被取消中选资格的盐酸多巴胺注射液,是用于休克、心衰等危重症的临床急救“刚需”药物,属国家医保甲类品种。摩熵医药数据显示,该品种在2024年其院内市场规模仍超2亿元。

截图来源:全终端医院销售数据库(查数据.找摩熵)
在第九批集采中,该品种竞争激烈,阜康仁以31.7元/盒的价格中标上海、浙江、新疆等重点市场。如今其突遭出局,为主供地区的供应衔接带来考验,但也为备供企业提供了顺势上位、快速承接市场份额的意外机遇。这场变故,将重塑这一细分市场的院内竞争格局。
截至目前,该品种在国内有超40家药企拥有生产批文,其中有超35家药企通过一致性评价。

截图来源:中国药品批文数据库(查数据.找摩熵)
03
88亿+降糖王牌稳居榜首,国产阵营迎来变量
相比而言,Hetero Labs的达格列净片被罚,影响更为深远。达格列净是年销售额近90亿的降糖药市场“王牌”,在第十一批国采中,正是其高达50亿的规模引发了最激烈的角逐。
在第十一批国采中,原研巨头阿斯利康因报价过高出局,以Hetero Labs为代表的仿制药企业(共7家中选)成功接管了巨大的院内市场。摩熵医药数据显示,该品种在2025年全终端医院市场的销售额超88亿元,同比增长达21.92%,达格列净片以24%的份额稳居糖尿病用药(化药或生物药)榜首。
截图来源:全终端医院销售数据库(查数据.找摩熵)
然而,中标仅是入场券。Hetero Labs的违规断供及其随后的四年禁入,不仅使其自身痛失巨大蛋糕,也为这场国产替代盛宴增添了变数。其原有的供应份额(安徽、湖南、广东、海南、陕西)将重新分配,其他中选的本土企业有望从中获益,加速市场渗透。这再次印证,在集采的长期竞争中,稳定的产能与可靠的供应链,与中标价格同等重要。
连续罚单是一记响亮的警钟,宣告集采进入“后竞价时代”。中选不再是终点,而是对药企综合运营能力的全面考核起点。
“成本控制、产能规划、质量体系、供应链韧性”已成为比报价更关键的竞争维度。任何一环的短板,都可能让看似到手的市场份额得而复失,甚至付出“四年禁入”的沉重代价。
对于行业而言,这标志着市场从“野蛮生长”的价格内卷,走向以“稳定供应与可靠质量”为基石的良性竞争。只有那些真正具备深厚工业底蕴、全链条风险管理能力的药企,才能在集采构建的新秩序中行稳致远,赢得市场与政策的双重认可。
END
本文为原创文章,转载请留言获取授权
近期更多摩熵咨询热门报告
识别下方二维码领取

联系我们,体验摩熵医药更多专业服务 | ||||
会议 合作 | 报告 定制 | 数据库 咨询 | 数据 定制 | 媒体 合作 |







