石药集团重磅1类新药来袭,剑指千亿市场!

4月15日,石药集团发布公告,公司自主研发的1类新药SYS6051获批临床,拟开发用于治疗晚期实体瘤。作为一款靶向组织因子(TF)的抗体偶联药物(ADC),SYS6051的获批临床标志着石药集团在热门靶点TF的布局上迈出关键一步,有望切入这一千亿级抗肿瘤赛道。

截图来源:企业公告
01
1类新药获批临床,剑指千亿抗肿瘤药物市场
SYS6051是一款靶向组织因子(TF)的抗体偶联药物(ADC),为石药集团自主研发的生物药1类新药,拟用于晚期实体瘤。该新药的临床申请(CXSL2600151)于2026年1月获得CDE承办,随后于今年4月首次获得临床试验默示许可。

截图来源:全球药物研发数据库(查数据.找摩熵)
TF是一种参与凝血和细胞信号传导的跨膜糖蛋白,在多种实体瘤中高表达,而在正常组织中表达受限,使其成为极具潜力的抗肿瘤靶点。
据摩熵医药数据,抗肿瘤药物和免疫机能调节药物市场持续扩容,2024年全终端医院销售额已达2209.97亿元,尽管2025年增速有所放缓(+2.80%),但庞大的存量市场仍为创新药提供了广阔空间。

截图来源:全终端医院销售数据库(查数据.找摩熵)
目前,全球范围内针对TF靶点的药物研发火热,已有多款相关药物获批上市或处于后期临床阶段。石药集团此次获批的SYS6051,有望凭借其ADC技术平台的优势,在TF阳性表达的恶性肿瘤治疗中占据一席之地。
02
研发管线全球排名第15位,减重与罕见病双轮驱动
近日,国际知名咨询机构Citeline发布了《2026年医药研发年度回顾》,以更为精确的全新分析方法,重磅揭晓“全球管线规模TOP25”制药企业榜单。石药集团凭借113个活跃的研发药物数量再度上榜,位居榜单第15位,排名较去年提升4名,充分证明了石药集团深厚研发管线的核心价值。
减重药物赛道迎来爆发式增长,成为报告一大亮点,报告认为其高增长态势短期内不会消退。近年来,石药集团加速减重领域药物的研发,并即将迎来收获期:2025年司美格鲁肽的两项上市申请已先后获得受理,适应症分别为成人2型糖尿病患者的血糖控制、在控制饮食和增加体力活动的基础上对成人超重/肥胖患者的长期体重管理。

此外,GLP-1/GIP受体双偏向性激动多肽注射液(SYH2069注射液)与GLP-1/GIP受体双偏向性激动多肽长效注射液(SYH2082注射液),在中国、美国均已获批临床。在临床前研究中,SYH2082在长效减重及维持方面较同类上市产品表现出更优的疗效,且支持每月一次的用药方案。
近年来,石药集团积极推进创新转型,不断加大研发力度与研发强度。2025年,石药集团研发投入超58亿元,通过全球五大研发中心发力创新,截至目前拥有在研创新药和创新制剂200余项,有160余个临床试验正在进行中,其中不乏市场前景广阔的FIC/BIC潜力药品。
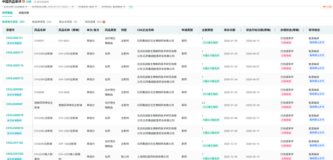
截图来源:中国药品审评数据库(查数据.找摩熵)
生物药为石药集团重点布局领域之一,今年以来已有13款新药获批临床(含子公司),其中SYS-6055注射液、SYH-9089注射液、SYS-6053、SYH-2082注射液、SYS-6051、SYS-6006六款为首次获批。此外,2款1类新药恩朗苏拜单抗注射液、普卢格列汀片已获批上市。
SYS6051的获批临床,不仅是石药集团在抗肿瘤领域的重要突破,也是其创新转型成果的集中体现。随着研发投入的持续加码和全球化管线的不断扩充,石药集团正逐步从传统仿制药企向创新驱动型国际化制药企业迈进,未来有望在更多治疗领域实现突破。
END
本文为原创文章,转载请留言获取授权
近期更多摩熵咨询热门报告
识别下方二维码领取

联系我们,体验摩熵医药更多专业服务 | ||||
会议 合作 | 报告 定制 | 数据库 咨询 | 数据 定制 | 媒体 合作 |







