行业观察

【4.10】存储圈热门资源供应信息更新汇总

今日热门供应/NEWS向上滑动阅览1深圳市骇客神科技有限公司长期品质供应:DDR3 16G 笔记本内存条DDR4 8G 16G 2666 3200 台式机、笔记本 内存条配套服务供应:内存OEM存储工厂联系方式:杨先生 188209798842深圳市嘉亨电子科技有限公司优势供应:优质稳定 SSD,接口支持SATA/mSATA及PCIe 3.0/4.0,容量范围:128GB/256GB/512GB/

发布时间:2026-04-10来源:闪德资讯
锚定端侧AI集成存储江波龙如何构建“系统级能力”护城河?

在AI持续向终端侧渗透的背景下,存储产业的角色正被重新定义。近日,在CFM | MemoryS 2026大会上,江波龙以“集成存储 探索端侧AI”为主题,集中展示了其在端侧AI存储领域的系统性布局,从架构创新到产品落地,为端侧AI存储产业带来全新的发展路径。端侧AI驱动:存储器从“标准部件”向“系统级能力”演进在端侧AI时代,存储器的产业定位正经历根本性重塑。正如消费级GPU与AI专用GPU在体系

发布时间:2026-04-10来源:闪德资讯
印度监控市场大洗牌,中国品牌出局

国际电子商情10日讯 印度以数据安全为由,正在其国内推进替换中国大陆生产的视频监控设备。据媒体报道,印度已下令禁止从中国进口其所谓的“敏感技术设备”,并逐步替换已在使用的中国大陆产摄像头。这一举措是印度推进的“无感摄像头”替换传统收费站项目的一部分,旨在提升高速公路通行效率。据悉,印度国家公路管理局计划为全国约1150个收费站采购摄像设备,目前已筛选出的供应商包括中国台湾地区的台达电子旗下晶睿通讯

发布时间:2026-04-10来源:国际电子商情
图灵量子/澜昆微/光本位/通格微/玻芯成/三叠纪/云天半导体/紫光展锐/中兴等齐聚,解码 TGV×CPO 全产业链

2026第二届玻璃基板与光电融合技术峰会——从TGV工艺到CPO集成会议背景我们将于4月27-28日在东莞举办第二届玻璃基板与光电融合技术峰会——从TGV工艺到CPO集成。本次峰会将汇聚国内外玻璃基板、TGV工艺、CPO技术等领域的知名专家、学者和企业代表,共同探讨行业发展趋势、分享最新研究成果和技术经验。我们诚挚邀请您参与这一盛会,共同见证和推动TGV工艺和CPO 技术等的发展,为未来科技的进步

发布时间:2026-04-10来源:半导体在线
封装材料供应商汇总:环氧树脂、贴片胶、底填胶(91家)

最近因为公众号推送政策改变,您关注的公众号的最新文章不会再自动推送给您了。所以如果您不想错过本公众号的文章信息,请务必将本公众号设置为星标,以免以面错过后续的重要文章。谢谢正文:半导体材料在整个产业链中的地位举足轻重,而国内在多数关键材料领域仍整体偏弱。此前我分享的行业数据以设备为主,后续也会逐步增加材料板块的整理与梳理。之前发布的材料内容偏向前道工艺,今天我特意整理一份封装环节有机材料的行业数据

发布时间:2026-04-10来源:半导体综研
心里发慌!华强北商家2万部手机压仓:废旧回收价却暴跌三成

4 月 10 日消息,深圳华强北二手手机回收市场剧烈震荡,商家普遍陷入恐慌。有商家仓库积压超2万部二手手机,货值约400万元,废旧手机回收价自3月下旬快速跳水,短短几天跌幅接近30%,报价一天一变,早上价格下午即失效。此前受存储芯片短缺影响,废旧手机被视作城市电子矿山遭到热炒,回收价一路飙升。春节前后报废机回收价从10-20元涨至40-50元,部分机型较去年翻倍;高峰期有回收商单日可收上万部,货值

发布时间:2026-04-10来源:电子工程专辑
荣耀送张雪万元手机,华为小鹏也杀进摩托车赛道

4月8日,荣耀全球首席营销官关海涛正式宣布,荣耀成为张雪机车在世界超级摩托车锦标赛(WSBK)的首席战略合作品牌。这是首个与张雪机车达成合作的中国手机品牌,标志着中国科技企业与高端摩托车制造的深度联动。张雪机车WSBK夺冠:打破37年垄断此次合作源于张雪机车在WSBK葡萄牙站的历史性突破。2026年3月28日至29日,张雪机车驾驶自研820RR-RS赛车,在WorldSSP中量级组别包揽双回合冠军

发布时间:2026-04-10来源:电子工程专辑
三星、SK海力士溢价锁定氦气,半导体关键耗材保卫战打响

近期,全球氦气供应市场出现显著波动,主要供应区域的生产与运输环节受到影响,导致全球氦气供应陷入紧张状态。4月8日,据TheElec报道,三星电子与SK海力士分别与德国林德公司(Linde)、美国空气产品公司(Air Products)签署长期额外氦气供应合同,此举旨在应对卡塔尔氦气断供引发的全球供应危机,保障自身先进制程芯片产能稳定。据悉,此次签约的核心是“长期稳定供应”与“美国气源锁定”。林德公

发布时间:2026-04-10来源:全球半导体观察
国产突围!国内38家光刻胶及原材料主要生产企业梳理

来自彤程,龙图光罩,SEMI,复旦大学,南开大学,暨南大学,苏州实验室,欣奕华,中电科48所,安捷伦,湖北菲利华,新维度微纳等单位的专家将作精彩报告第3届光掩模与光刻胶技术论坛将于2026年4月24日在上海召开国产突围!国内38家光刻胶及原材料主要生产企业梳理1. 北京科华微电子材料有限公司•光刻胶产品:涵盖G线光刻胶、I线光刻胶、KrF光刻胶和ArF光刻胶•经营规模:彤程新材控股子公司,国内8-

发布时间:2026-04-10来源:国芯网
亚马逊拟对外销售自研芯片,年营收将超500亿美元

当地时间4月9日,亚马逊首席执行官安迪·贾西(Andy Jassy)在年度致股东信中释放重磅信息:亚马逊正考虑首次向第三方客户直接出售其自研芯片,此举将使其与英伟达、博通等芯片巨头在更广阔的市场展开正面竞争。自研芯片业务年化营收已超200亿美元,AI业务年化营收突破150亿美元贾西在信中首次披露,亚马逊的自研芯片业务年化营收已超过200亿美元,且正以三位数的年增长率快速成长。该业务涵盖三大核心产品

发布时间:2026-04-10来源:芯智讯
美国FCC再出手!拟禁中国实验室测试电子产品

据路透社报道,美国联邦通信委员会(FCC)计划于2026年4月30日对一项提案进行表决。该提案提议全面禁止中国大陆实验室为销往美国市场的电子产品提供测试服务。若此项提案顺利通过,中国大陆的电子产品测试体系将被全面排除在美国市场之外。据FCC数据,目前全球约75%的主流消费电子产品测试(含手机、PC、NB、摄像头等)均集中在中国大陆。尽管美国在2024年已出台相关限制,将23家中国大陆实验室列入黑名

发布时间:2026-04-09来源:芯极速
凭啥这家芯片巨头净利润暴涨8000%?

受益于生成式AI爆发带动的存储需求热潮,香农芯创近期交出了一份远超市场预期的业绩答卷,无论是2025年全年表现,还是2026年一季度预告,均实现大幅增长,成为半导体分销领域的“黑马”。据香农芯创2025年业绩快报披露,公司全年营业总收入达352.51亿元,较上年同期的242.71亿元同比增长45.24%;营业利润与利润总额均约为8.56亿元,同比增幅分别达182.42%、181.77%,盈利水平实

发布时间:2026-04-09来源:是说芯语
估值破百亿!北京具身独角兽完成股改

近日,企查查追踪到,北京具身智能独角兽“灵心巧手”已变更为股份有限公司,注册资本也由1183万增长至约9.17亿元。图源:企查查公开资料显示,灵心巧手成立于2023年,以“灵巧手+云端智脑”为核心打造产品矩阵。在85后华科学霸周永的带队下,该公司目前已成功打通腱绳、直驱、连杆三种主流技术路线,灵巧手自由度也多达6-42个,全面覆盖科研研发、工业生产、日常生活等场景需求。据了解,过去一年内,灵心巧手

发布时间:2026-04-09来源:是说芯语
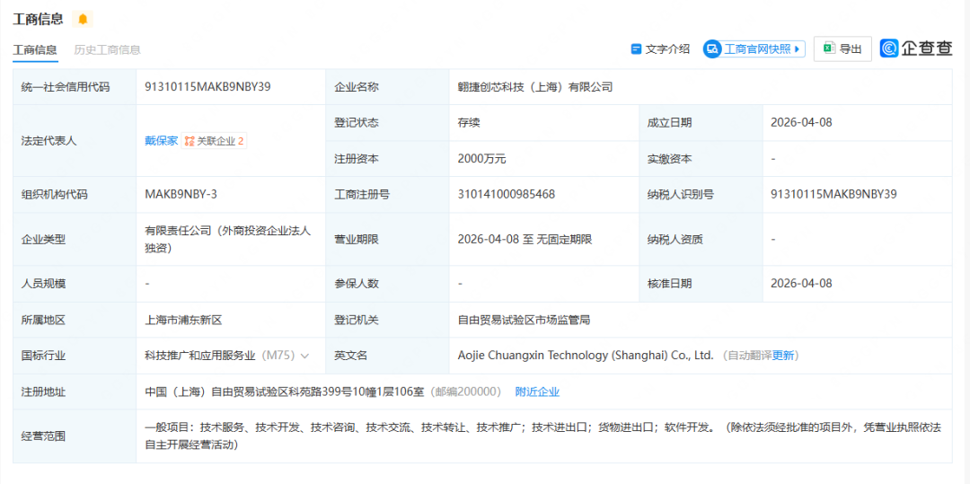
300亿元基带芯片龙头,张江设立全资新公司

近日,企查查数据显示,翱捷创芯科技(上海)有限公司(下称“翱捷创芯”)正式完成注册设立,注册资本2000万元,由翱捷科技股份有限公司(下称“翱捷科技”,688220.SH)100%全资控股,这家国内基带芯片龙头企业在业务拓展与资源整合上又迈出重要一步。作为国内唯一主营蜂窝物联网基带芯片的上市公司,翱捷科技此次新设子公司,笔者认为并非是简单的业务延伸,而是基于自身技术积累与行业趋势,对技术商业化、国

发布时间:2026-04-10来源:是说芯语
全芯智造,上市辅导完成

最近,国泰海通证券正式提交了全芯智造的上市辅导完成报告。全芯智造技术股份有限公司(全芯智造)成立于2019年9月,公司注册资本2.31亿元人民币,总部位于合肥,在上海、北京、广州、济南、深圳、武汉、香港、杭州设有全资子公司。全芯智造是一家专注于智能制造一体化解决方案的专业软件开发与服务的高新科技企业。以工业软件为载体,深入开展产业链协同合作,从点到链推动产业深度融合,通过智能化等新兴技术的导入,独

发布时间:2026-04-10来源:是说芯语